EasyManua.ls Logo

Wasp CLAY - Main View

Wasp CLAY
50 pages
Print Icon
To Next Page IconTo Next Page
To Next Page IconTo Next Page
To Previous Page IconTo Previous Page
To Previous Page IconTo Previous Page
Loading...
16
2
© WASP S.r.l.
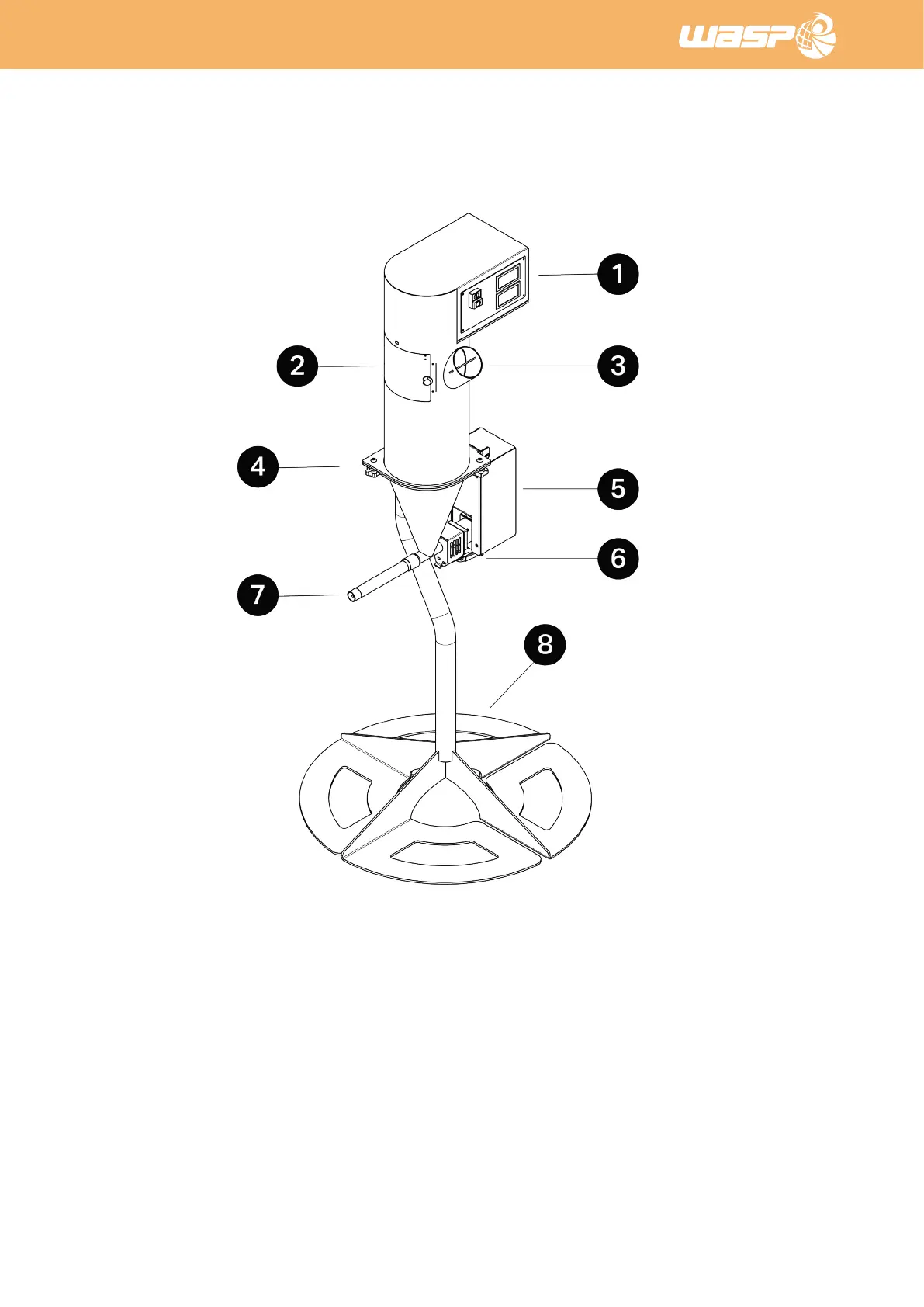
Fig. 2.1 - Main view
2.1. Main view
Legend:
1. ON/OFF button and user interface (view 5.2 User Interface)
2. Inspection window
3. Material intake
4. Locking knobs
5. Rotating brushless motor
6. Clamp
7. Output pipe
8. Basement