EasyManua.ls Logo

Wayne HSG200 - Page 30

Wayne HSG200
52 pages
Print Icon
To Next Page IconTo Next Page
To Next Page IconTo Next Page
To Previous Page IconTo Previous Page
To Previous Page IconTo Previous Page
Loading...
30
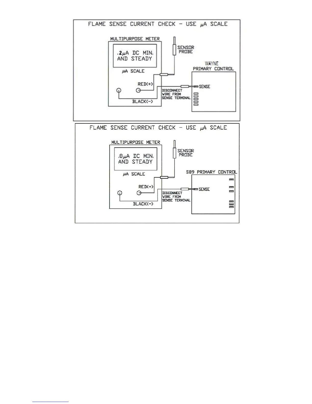
Figure 20: Flame Current Measurement, Top: Wayne control; Bottom: Honeywell control

Other manuals for Wayne HSG200

Related product manuals