EasyManua.ls Logo

WeiderPro Pro 435 Bench - Adjustments

WeiderPro Pro 435 Bench
20 pages
Print Icon
To Next Page IconTo Next Page
To Next Page IconTo Next Page
To Previous Page IconTo Previous Page
To Previous Page IconTo Previous Page
Loading...
11
The weight bench is designed to be used with your own weight set (not included).
The steps below explain how
the weight bench can be adjusted. See EXERCISE GUIDELINES on page 14 for important exercise information
and refer to the accompanying exercise guide to see the correct form for several exercises. Refer also to the
exercise information accompanying your weight set for additional exercises.
Make sure all parts are properly tightened each time you use the weight bench. Replace any worn parts immediate
-
ly. The weight bench can be cleaned with a damp cloth and a mild, non-abrasive detergent. Do not use solvents.
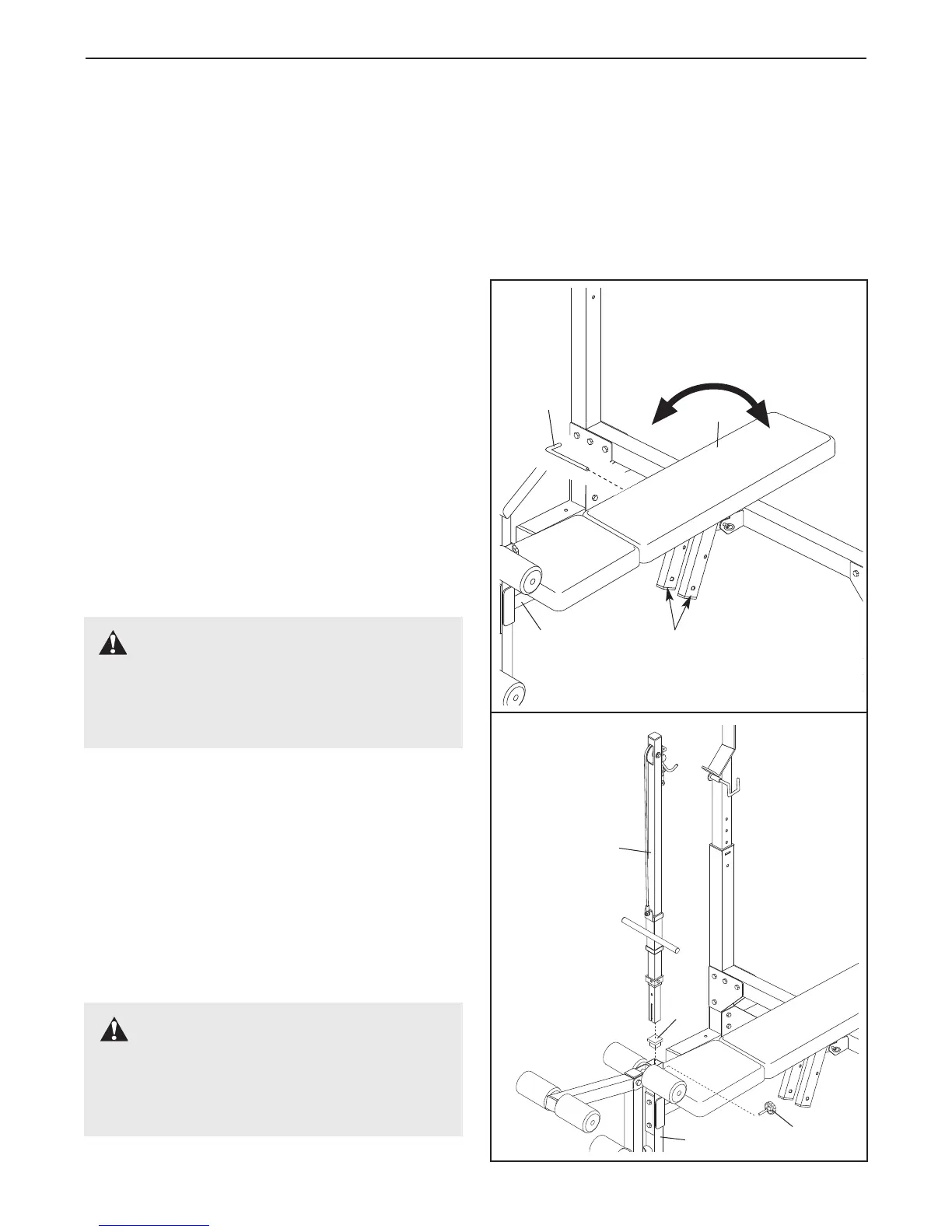
ADJUSTING THE BACKREST
The Backrest (6) can be used in a decline position, a
flat position, or two incline positions. To use the
Backrest in the decline position, remove the
Adjustment Pin (32) and lay the Backrest on the M10
x 57mm Adjustment Knob (not shown).
To use the Backrest (6) in the flat position, lift the
Backrest and insert the
Adjustment Pin (32) through
the top set of holes in the adjustment tubes and the
Bench Frame (2).
To use the Backrest (6) in an incline position, lift the
Backrest and insert the Adjustment Pin (32) through
one of the bottom two sets of holes in the adjustment
tubes and the Bench Frame (2).
ATTACHING THE LAT TOWER OR CURL PAD
For some exercises, the Lat
T
ower (47) must be
attached to the bench. Remove the 50mm Square
Inner Cap (54) from the Front Leg (8). Insert the Lat
T
ower into the Front Leg.
T
ighten the M10 x 57mm
Adjustment Knob (33) into the Front Leg and the Lat
Tower.
The Curl Pad (not shown) can be attached in the
same manner.
6
Adjustment
Tubes
32
2
WARNING: When using the
Backrest (6) in an incline or flat position, make
sure that the Adjustment Pin (32) is inserted
completely through both adjustment tubes
and the Bench Frame (2).
WARNING: When the Lat Tower
(47) or Curl Pad (27) is not in use, replace the
50mm Square Inner Cap (54). Store the Lat
Tower and Curl Pad away from the bench so
they will not interfere with other exercises.
ADJUSTMENTS
47
54
33
8

Other manuals for WeiderPro Pro 435 Bench

Related product manuals