EasyManua.ls Logo

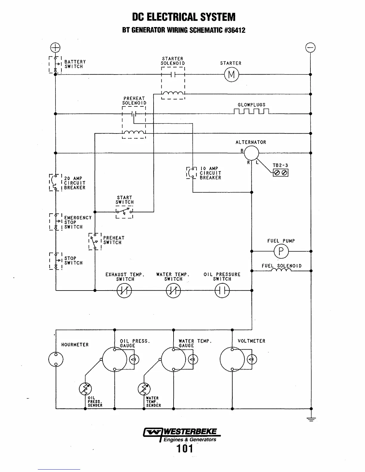
Westerbeke 42B FOUR - BT Generator Wiring Schematic #36412

Westerbeke 42B FOUR
110 pages
Print Icon
To Next Page IconTo Next Page
To Next Page IconTo Next Page
To Previous Page IconTo Previous Page
To Previous Page IconTo Previous Page
Loading...
:
BATTERY
!
SWI
TCH
1
20
AMP
1
CIRCUIT
I
BREAKER
1
EMERGENCY
I
STOP
!SWITCH
1
STOP
r.
I
I
DC
ELECTRICAL
SYSTEM
BT
GENERATOR
WIRING
SCHEMATIC
#36412
PREHEAT
SOLENOID
r -
--I
L...
___
I
START
SWITCH
11
PREHEAT
SWITCH
!
STARTER
SOLENOID
r
---I
L...
___
I
STARTER
.I~(
I
10
AMP
I
CIRCUIT
-
BREAKER
GLOWPLUGS
ALTERNATOR
B
FUEL
PUMP
I
SWITCH
I
FUEL
SOLENOID
HOURMETER
Oil
PRESS.
SENDER
EXHAUST
TEMP.
SWITCH
WATER
TEMP.
SWITCH
OIL
PRESSURE
SWITCH
TEMP.
VOLTMETER
Engines
~
Generators
101

Table of Contents

Related product manuals