EasyManua.ls Logo

Westerbeke 42B FOUR - WMD Generator Wiring Schematic #24700

Westerbeke 42B FOUR
110 pages
Print Icon
To Next Page IconTo Next Page
To Next Page IconTo Next Page
To Previous Page IconTo Previous Page
To Previous Page IconTo Previous Page
Loading...
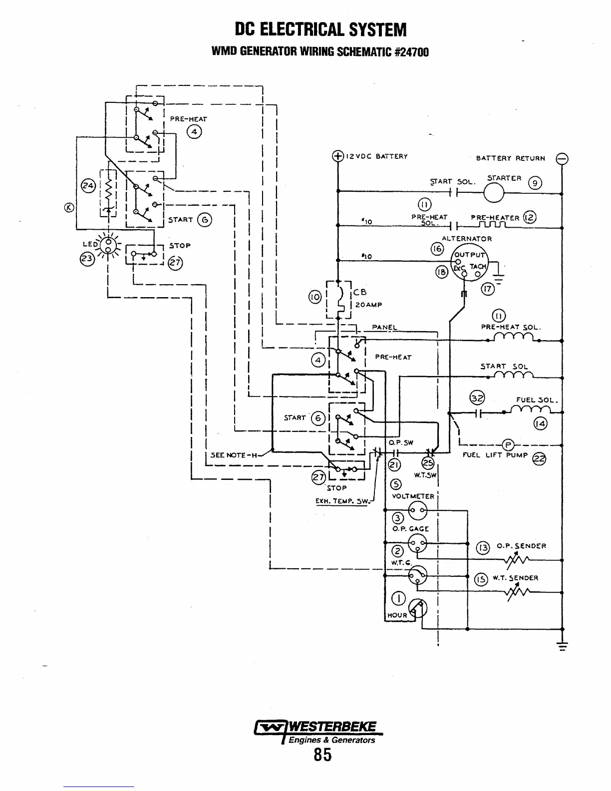
DC
ELECTRICAL
SYSTEM
WMD
GENERATOR
WIRING
SCHEMATIC
#24700
-------,
I
,---
---'I
I I
PRE-HEAT
I I
I'
~0
11
L_-l-J
I I
___
...J.
I I
r 1
--
I
@1:1i'------llll
® I I I
~I-----
-l
I
~...J
I'
I
START
® I I
L..-----4----=L::::.;-=:::;-
J I I
LEO'ffi-
r;:;
..
STOP
I I
e*U
1
67\
I I
".::J
I
I--~
~
I L
___
~
I I
-,
L----
l
I
I,
WI
ICB
~
I
IZOAMP
L
I.J
I I I -
--::.
--,
PANEL
+
(lVDC
BATTERY
@
"to
BATTERY
RETURN
@
PRE-HEAT
S.OL.
I
=-~---.'~---~
I I ,
____
'_
:;;;;-----...;.-+----+-1
I I
PRE-H"T
I I
1-
I I
--"---
r---
I I
START'~'~
I t
L_
-----1
Itt
0-----,
--1-
......
I
L:EE
NOTE
-H
L
__
..J
..-:t++-U-----l~-
L_-_--=--,-
---
@L_J
I
]
I
STOP
J
I
ElCH.
TEMP. '5W.
I
I
O.P. CAC£:
I ®
L
_________
w:r.t;;.
Engines & Generators
85
5TART
$oOL
FUEL
,sOL.
\ @
I
L
___
-®-
__
_
FUEL
LIFT
PUMP
@
@
O.P.
SENDER
® W,T.
!:lENDER

Table of Contents

Related product manuals