EasyManua.ls Logo

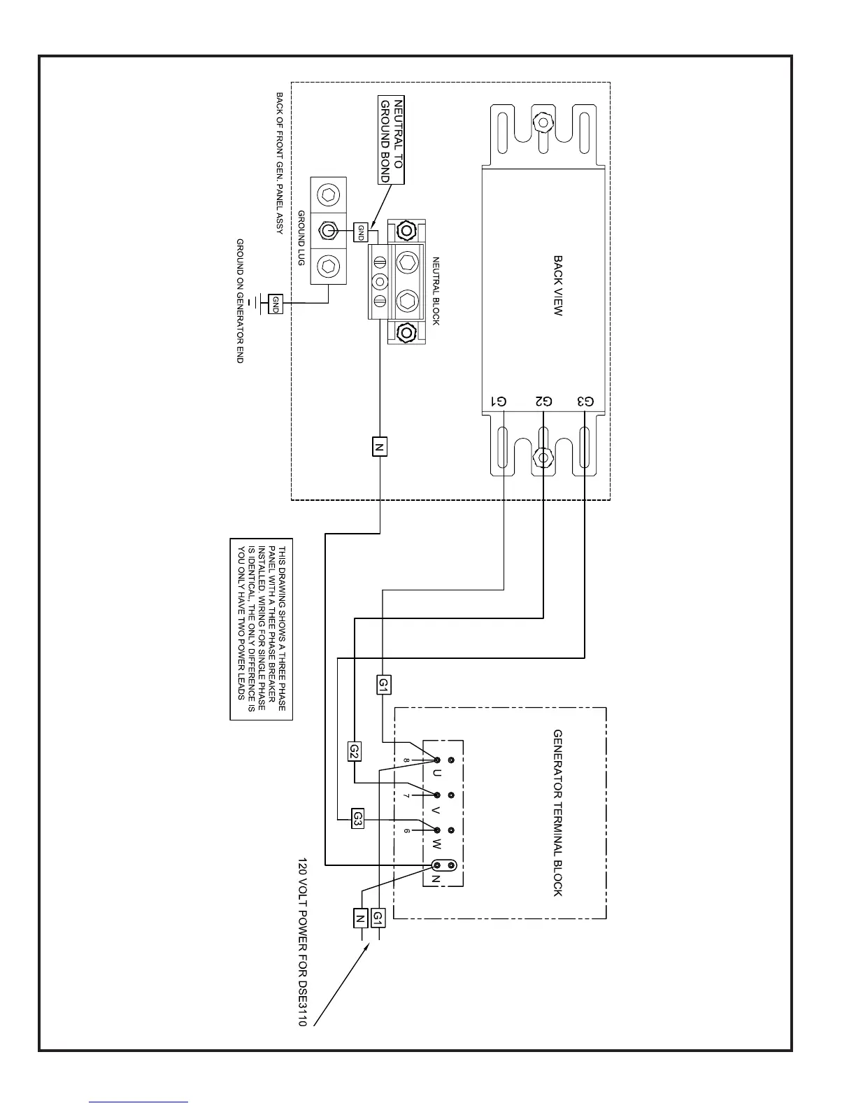
Winpower DE20I4 - Control Panel Wiring Diagram

Winpower DE20I4
28 pages
Print Icon
To Next Page IconTo Next Page
To Next Page IconTo Next Page
To Previous Page IconTo Previous Page
To Previous Page IconTo Previous Page
Loading...
60708-162
4094-00
8
CONTROL BOX AC WIRING