EasyManua.ls Logo

Yale YRD420-F

Yale YRD420-F
68 pages
To Next Page IconTo Next Page
To Next Page IconTo Next Page
To Previous Page IconTo Previous Page
To Previous Page IconTo Previous Page
Loading...
8
P/N YRD604-KD-BLE-0047 Rev A
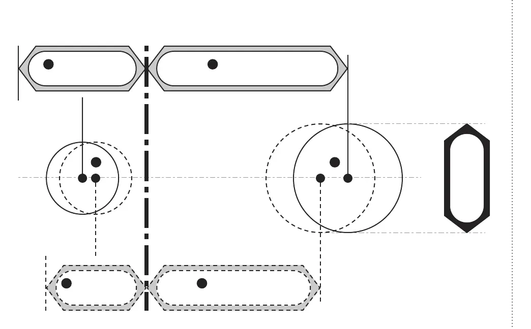
Marking Template for 11/2” (38mm) Face Bore
Center of
1” (25mm)
Edge Bore
Center of
1” (25mm)
Edge Bore
Centerline
Center of
11/2” (38mm)
Face Bore
Center of
11/2” (38mm)
Face Bore
11/2
I G
13/8” (35mm)
Door Thickness
B
23/8” (60mm)
Backset
E
13/4” (44.5mm)
Door Thickness
C
23/4” (70mm)
Backset
F
Tear Along the Dotted Line

Table of Contents

Other manuals for Yale YRD420-F

Related product manuals