EasyManua.ls Logo

Yamaha CDX-396 - CD MECHANISM UNIT EXPLODED VIEW

Yamaha CDX-396
38 pages
Print Icon
To Next Page IconTo Next Page
To Next Page IconTo Next Page
To Previous Page IconTo Previous Page
To Previous Page IconTo Previous Page
Loading...
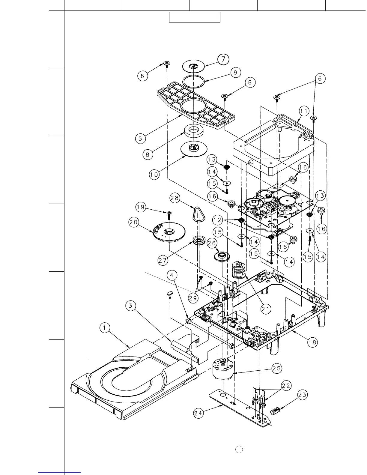
EXPLODED VIEW
(CD Mechanism Unit)
35
ABCDE
1
2
3
4
5
6
7
* The stopper is not supplied with the tray as a spare part.
When replacing the tray, keep the removed stopper and reuse it.
Should it be lost and a new one be necessary, order service part 18 Main Chassis (S) and remove the stopper
only from it and use it as a spare part.
Stopper
COMMON

Other manuals for Yamaha CDX-396

Related product manuals