EasyManua.ls Logo

Yamaha CDX-396 - STANDARD OPERATION CHART

Yamaha CDX-396
38 pages
Print Icon
To Next Page IconTo Next Page
To Next Page IconTo Next Page
To Previous Page IconTo Previous Page
To Previous Page IconTo Previous Page
Loading...
CDX-396/496
CDX-396/496
7
STANDARD OPERATION CHART
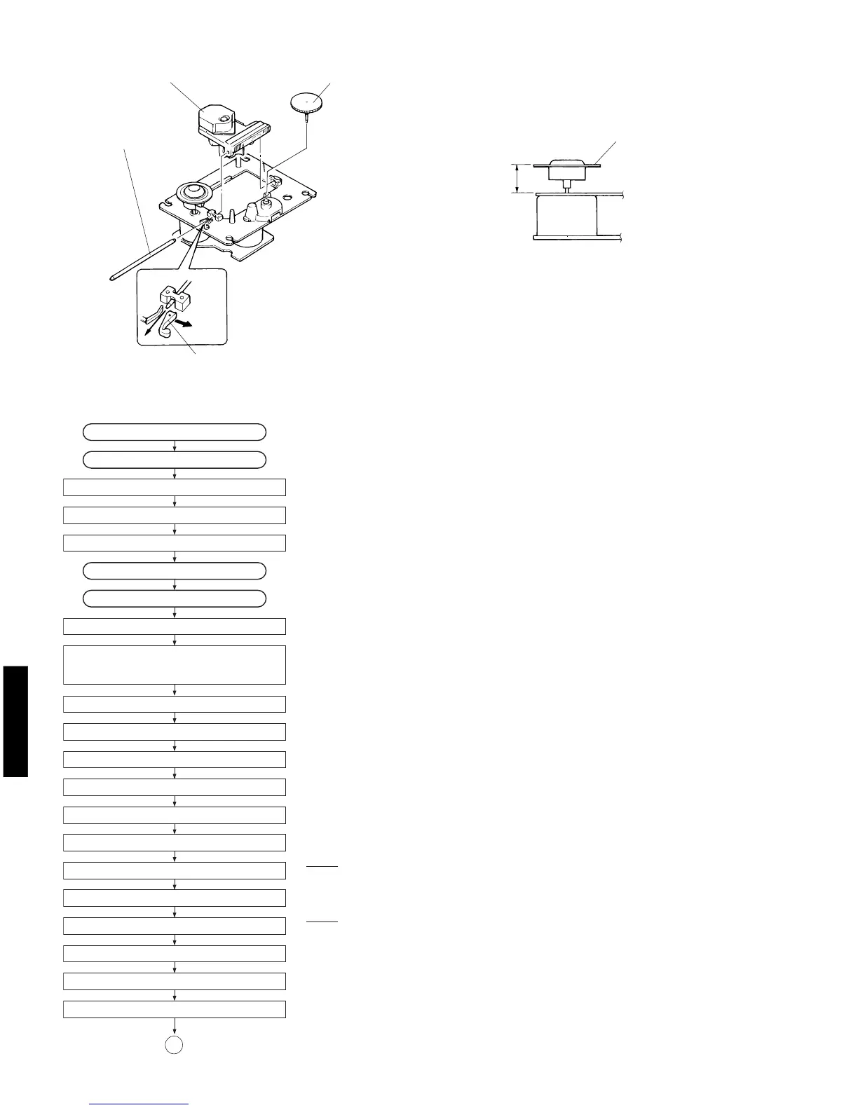
Disc Table
Pick-up Head Gear A
Sled Shaft
19.4 ± 0.2mm
Stopper
Check that the disc table height is as specified below.
Fig. 5
A
Press OPEN/CLOSE key.
Forced feed return operation
Clamp down operation
Tray open
Tracking offset auto ADJ
Focus offset auto ADJ
Load a disc.
Press PLAY key or push the tray.
Tray closed
Disc mechanism unit clamped up.
Feed inward switch reached.
Laser ON
Disc scan
Focus gain rough ADJ
Focus search operation
Focus lock servo ON
Spindle motor accelerated.
Tracking servo ON
Spindle servo ON
Feed servo ON
"
" appears in the TIME indicator.
"TRV" signal is output until detection of LIMIT switch.
Stop after detection of LOADING switch.
Proceeds to next step after detection of LOADING switch.
if FLSW = L (IC300, 23 pin)
Proceeds To Next Step.
LDON = H (IC1, 5 pin)
FLOCK = H L (IC300, 18 pin)
TLOCK = H L (IC300, 19 pin)
POWER ON If a disc is not loaded, "0:00" appears in the time indicator.
VCO lock
OPEN

Other manuals for Yamaha CDX-396

Related product manuals