EasyManua.ls Logo

Yamaha F80TLRZ - Remote PT&T Switch - F;T25 T, 40 T~250 HP, C40 T~C90

Yamaha F80TLRZ
497 pages
Print Icon
To Next Page IconTo Next Page
To Next Page IconTo Next Page
To Previous Page IconTo Previous Page
To Previous Page IconTo Previous Page
Loading...
3-42
Outboard Rigging Guide - 2001 Remote PT&T Switch
F/T25T, 40T~250HP, C40T~C90
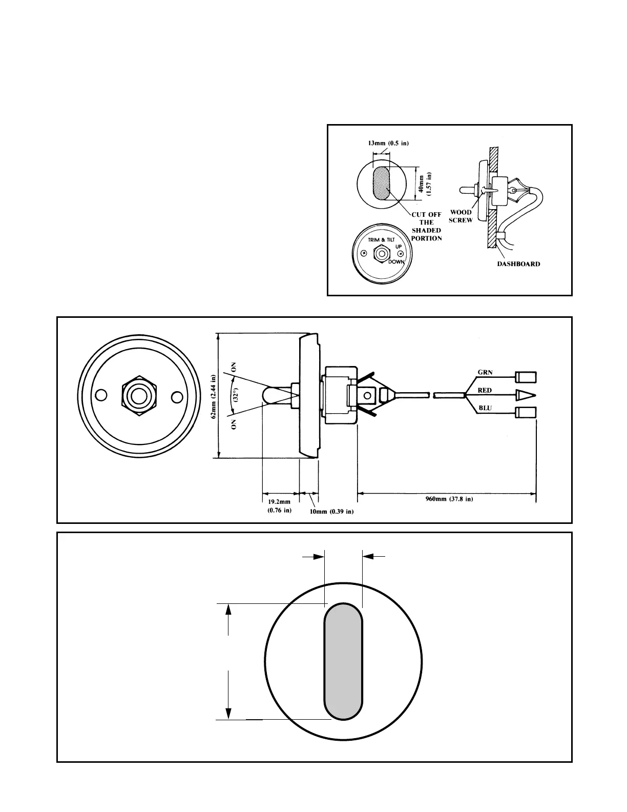
Mounting
Think Instrument Panel Installation
(over 2mm (0.08in)
1. Select a mounting location so the power
trim/tilt switch is easy to reach from the helm.
Be sure there is sufficient clearance behind
the instrument panel for the switch.
2. When installing the power trim/tilt switch
into a thick instrument panel, make a hole
40mm (1.57in) high and 13mm (0.5in) wide
as shown in the mounting diagram.
3. Secure the switch with the wood screws as
shown.
For electric tiller model wiring, see the wiring
diagrams in the Boat Wiring Diagrams Section.
40 mm
(1.57 in)
13 mm (.5 in)
TEMPLATE (Actual Size)

Table of Contents

Related product manuals