EasyManua.ls Logo

Yamaha M3000A - About the GA Diversity Functionality; Using MIX Buses 1-8 as Group Buses; Using MIX Buses 1-8 as AUX Buses

Yamaha M3000A
47 pages
Print Icon
To Next Page IconTo Next Page
To Next Page IconTo Next Page
To Previous Page IconTo Previous Page
To Previous Page IconTo Previous Page
Loading...
30
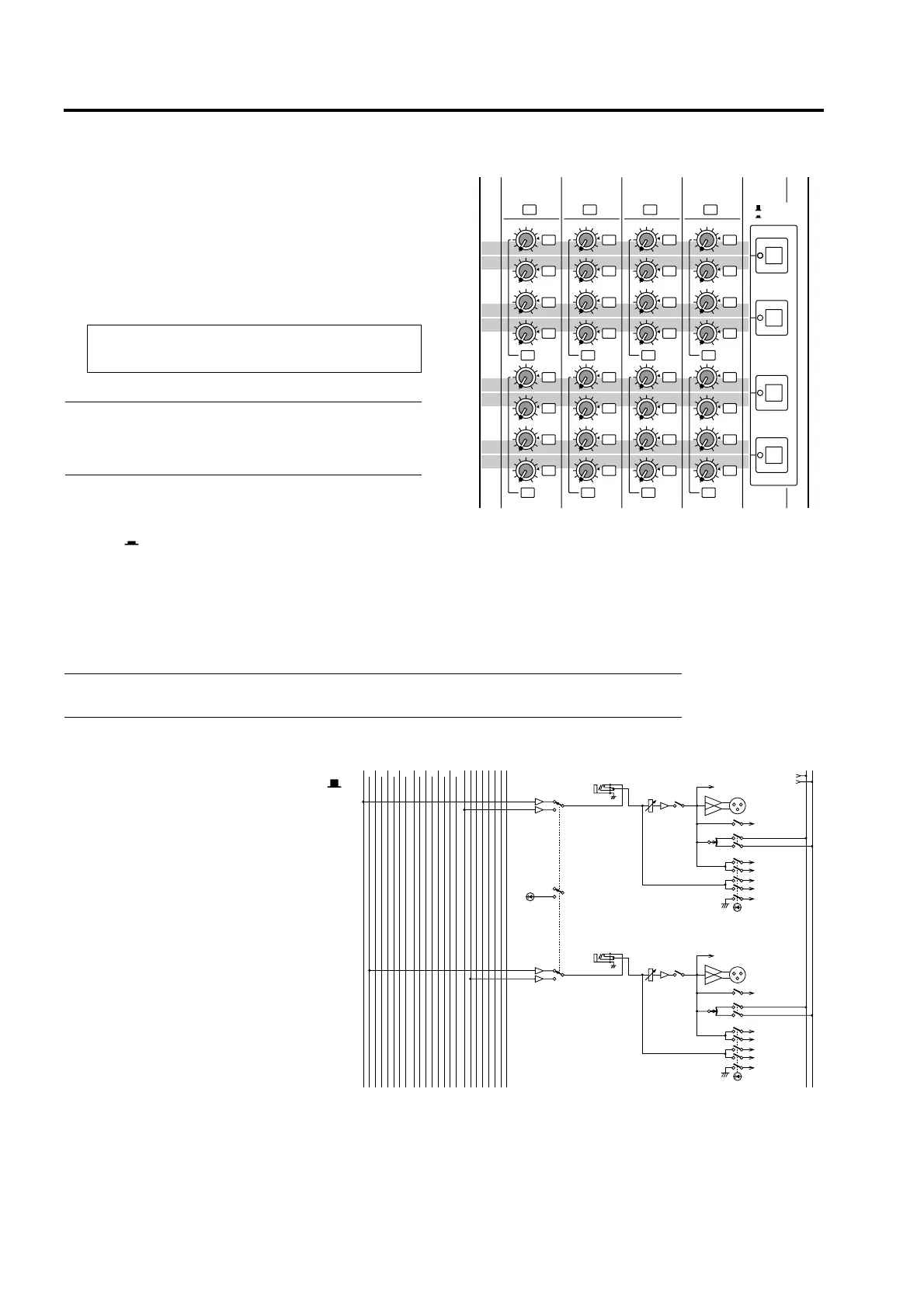
About the GA Diversity functionality
The GA Diversity functionality of the M3000A allows
you to switch the MIX buses 1–8 between acting as
group buses (output level from the input channels
will be fixed) or acting as AUX buses (output level
from the input channels will be variable).
This functionality lets you use MIX bus pairs 1/2, 3/4,
5/6, or 7/8 either as group buses or as AUX buses, and
gives you the flexibility to configure the console as 8
group buses/8 AUX sends, 4 group/12 AUX send, or
16 AUX send, etc.
Using MIX buses 1–8 as group
buses
1. Of the four switches in the variable/fix select sec-
tion (page 13), set the switches to the FIX posi-
tion ( ) for the MIX buses that you wish to use
as group buses.
From top to bottom, the switches of the variable/fix
select section correspond to MIX buses 1/2, 3/4, 5/6,
and 7/8. For MIX buses whose switch is in the FIX
position, the output level from the input channels will
be fixed. At this time, M1–M8 controls of the input
channels will have no effect.
2. To send the signal from an input channel to that
MIX bus, turn on the M1–M8 ON switch for the
corresponding MIX bus.
The post-fader signal of the input channel will be sent
to the corresponding MIX bus (FIX).
Using MIX buses 1–8 as AUX buses
1. In the variable/fix select section
(page 13), set the desired switch(es)
M1–M4 to the VARIABLE position ( )
for the MIX buses that you wish to use
as AUX buses.
With this setting, the output level from the
input channels to the corresponding MIX
bus can be adjusted.
2. To send the signal from the input chan-
nel to the desired MIX bus, turn on the
M1–M8 ON switch for the correspond-
ing MIX bus. Then adjust the M1–M8
control(s) for the desired mix bus(es)
to the appropriate level.
The post-fader signal from the input chan-
nel will pass through the M1–M8 controls,
and will be sent to the corresponding MIX
bus (VARIABLE).
Note: MIX buses 9–16 always function as AUX
buses.
+15–15
100
100
100
100
100
EQ
PRE
PRE
M1
M2
M3
M4
M5
100
M6
100
M7
100
M8
VARIABLE
FIX
+15–15
100
100
100
100
100
EQ
PRE
PRE
M1
M2
M3
M4
M5
100
M6
100
M7
100
M8
+15–15
100
100
100
100
100
EQ
PRE
PRE
M1
M2
M3
M4
M5
100
M6
100
M7
100
M8
+15–15
100
100
100
100
100
EQ
PRE
PRE
M1
M2
M3
M4
M5
100
M6
100
M7
100
M8
from INPUT
ON/EDIT
to Meter
to Meter
VARIABLE
FIX
M1–2
TO MATRIX
PAN
TO STEREO
to MAS AFL L
to MAS AFL R
to MAS PFL L
to MAS PFL R
to AFL ON
to AFL ON
to MAS PFL L
to MAS PFL R
to MAS AFL L
to MAS AFL R
ON/EDIT
MIX OUT 9
MIX OUT 1
TO STEREO
PAN
TO MATRIX
MIX
INSERT
I/O
ST
LR
MIX
(FIX)
MIX
(VARIABLE)
MIX
INSERT
I/O
1 3 5 7 12345678
2468
9 111315
10 12 14 16
AFL
AFL