EasyManua.ls Logo

Yamaha MT50 - Recording the Bass (Step 2)

Yamaha MT50
38 pages
Print Icon
To Next Page IconTo Next Page
To Next Page IconTo Next Page
To Previous Page IconTo Previous Page
To Previous Page IconTo Previous Page
Loading...
10
Chapter 3: Basic Recording
MT50 Users Guide
Step 2 — Recording the Bass
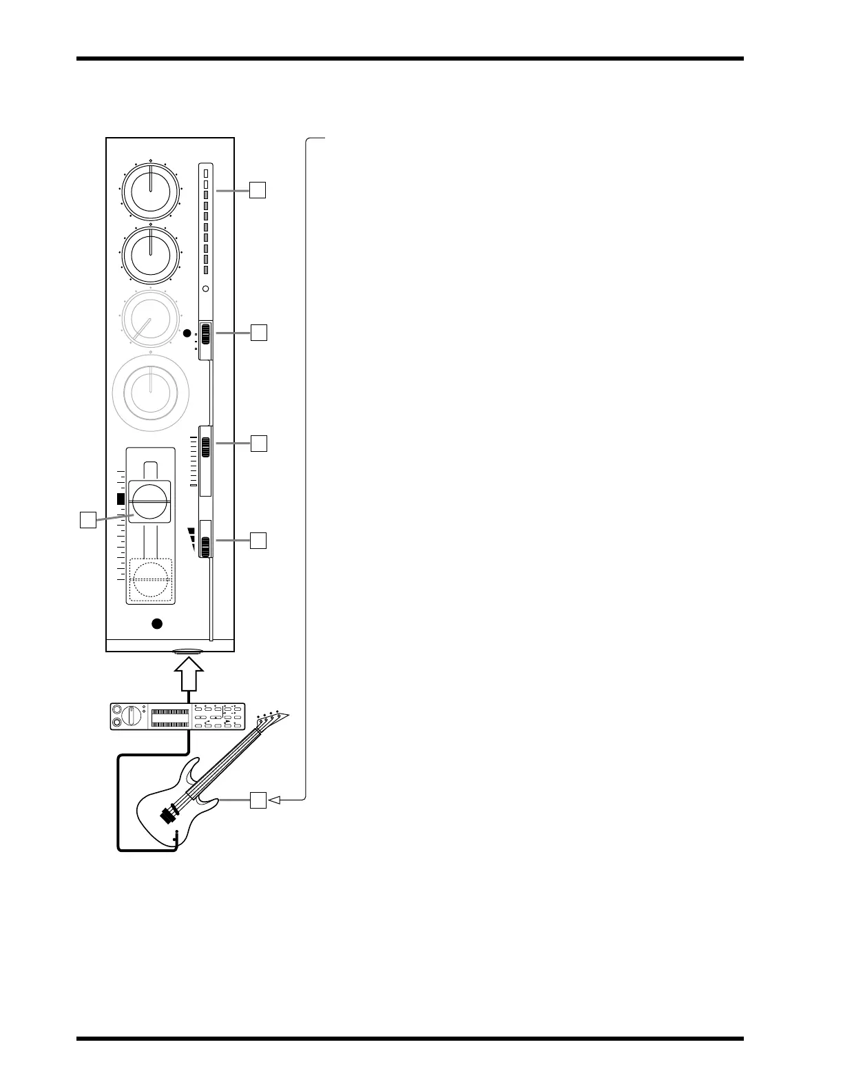
1. Connect the bass to MIC/LINE input 2.
2. Set Module 2’s GAIN switch to LINE.
3. Set Module 2’s CUE slider to about 8.
4. Set Module 2’s REC SEL switch to 2.
The REC indicator starts flashing.
5. Press the PAUSE button.
6. Press the REC button.
The REC indicator lights up.
7. While strumming the bass, raise Module 2’s fader gradually.
You should be able to hear the bass and the level meter should light up.
8. Set the fader so that the +6 light is on occasionally at the maximum
input level.
9. In order to set the CUE levels, press the PAUSE button to start
recording. (This is only a temporary recording.)
10.While listening to the drum track, play the bass and set Module 1
and 2’s CUE sliders so that you can hear the drums and bass clearly.
11.Press REW to rewind the tape to 000.
12.Press the REC button to start recording.
The REC indicator lights up.
13.Play your bass part while listening to the drum track.
14.When your bass part is finished, press STOP to stop recording.
15.Press REW to rewind the tape to 000.
16.Set Module 2’s REC SEL switch to OFF.
The REC indicator goes off.
17.Press PLAY to listen to the drum track and new bass track.
If you like the track, go to “Step 3 — Recording the Guitar” once you
finish this procedure. If you don’t like it, re-record it.
18.Disconnect the bass.
19.Set Module 2’s fader to 0.
20.Press REW to rewind the tape to 000.
Note:
Connecting an instrument with a high output impedance such as an
electric guitar or bass to the MT50 may increase noise and distortion and
preclude high quality recordings.
If this happens, connect a direct box or effect unit between the instrument
and the MT50 to reduce the impedance.
–+
OFF
R
REC
SEL
LR
010
CUE
10
0
MIC/LINE
10
9
8
7
6
5
4
3
2
1
0
+6
+3
0
-5
-10
REC
GAIN
MIC
LINE
HIGH
LOW
9
4
3
2
8
–+
2
2
AUX
PAN
YAMAHA
Bass Effect
Processor
FX550B
1

Related product manuals