EasyManua.ls Logo

Yamaha MT50 - Recording the Vocals (Step 4)

Yamaha MT50
38 pages
Print Icon
To Next Page IconTo Next Page
To Next Page IconTo Next Page
To Previous Page IconTo Previous Page
To Previous Page IconTo Previous Page
Loading...
12
Chapter 3: Basic Recording
MT50 Users Guide
Step 4 — Recording the Vocals
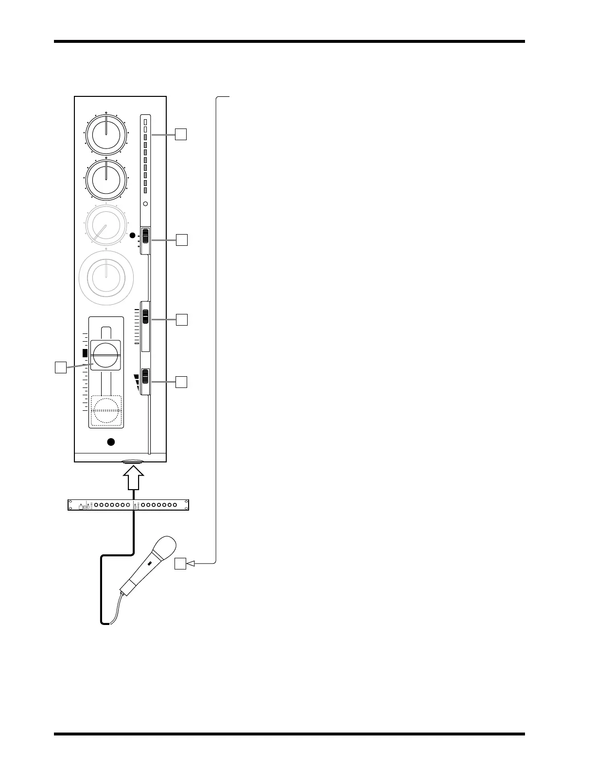
1. Connect the microphone to MIC/LINE input 4.
2. Set Module 4’s GAIN switch to MIC.
3. Set Module 4’s CUE slider to about 8.
4. Set Module 4’s REC SEL switch to 4.
The REC indicator starts flashing.
5. Press the PAUSE button.
6. Press the REC button.
The REC indicator lights up.
7. While singing into the microphone, raise Module 4’s fader gradu-
ally.
You should be able to hear the vocal and the level meter should light up.
8. Set the fader so that the 0 light is on most of the time and the +6 light
is on occasionally.
9. In order to set the CUE levels, press the PAUSE button to start
recording. (This is only a temporary recording.)
10.While listening to the drum, bass, and guitar tracks, sing into the
microphone and set the CUE sliders on Modules 1, 2, 3, and 4 so
that you can hear all sounds clearly.
11.Press REW to rewind the tape to 000.
12.Press the REC button to start recording.
The REC indicator lights up.
13.Sing your vocal part while listening to the other tracks.
14.When you’ve finished, press STOP to stop recording.
15.Press REW to rewind the tape to 000.
16.Set Module 4’s REC SEL switch to OFF.
The REC indicator goes off.
17.Press PLAY to listen to the drum track, bass track, guitar track,
and new vocal track.
If you like the track, go to “Step 5 — Mixing Down” once you finish
this procedure. If you don’t like it, re-record it.
At this point, we are finished recording.
18.Disconnect the microphone.
19.Set Module 4’s fader to 0.
20.Press REW to rewind the tape to 000.
REC
SEL
LR
010
CUE
10
0
MIC/LINE
10
9
8
7
6
5
4
3
2
1
0
+6
+3
0
-5
-10
REC
4
GAIN
MIC
LINE
HIGH
LOW
9
4
3
2
1
8
4
OFF
R
AUX
PAN
–+
–+
YAMAHA
Compressor
! Use a compressor to even out
the vocal level.
! Watch out for feedback. Don’t
place your microphone too close to
your speakers.

Related product manuals