EasyManua.ls Logo

Yamaha PSR-E233 - Lesson Operation and Grading; Lesson Steps; Performance Evaluation

Yamaha PSR-E233
48 pages
Print Icon
To Next Page IconTo Next Page
To Next Page IconTo Next Page
To Previous Page IconTo Previous Page
To Previous Page IconTo Previous Page
Loading...
Using the Lesson Feature
PSR-E233/YPT-230 Owner’s Manual
25
Lesson Operation
1
Select the desired Song for your lesson.
For instructions on how to select a Song, see page 12.
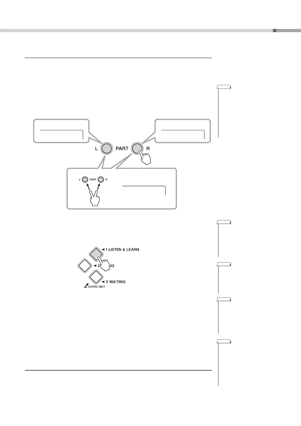
2
Select the part you want to practice.
Press the [R] button for a right-hand lesson, [L] button for a left-hand lesson, or
press both the [R] and [L] buttons simultaneously for a both-hands lesson.
The selected part is displayed.
3
Select the Lesson mode.
Press any one of the [1 LISTEN & LEARN], [2 TIMING] or [3 WAITING] but-
tons. Refer to the Lesson modes on page 24.
4
Start Lesson.
Song playback will begin automatically when you select the Lesson mode, and
the appropriate notes appear in the display.
5
Stop the Lesson mode.
You can stop the Lesson mode at any time by pressing the [START/STOP] but-
ton.
Grade
When the Lesson Song has played all the way through in Lesson mode “2 Timing”
or “3 Waiting,” your performance will be evaluated in four levels: OK, Good, Very
Good, or Excellent.
The following songs are
intended for use as right-
hand lessons, and cannot
be used for left-hand or
both-hands lessons. If you
select a right-hand lesson
Song, a “No LPart” mes-
sage is shown in the display.
Song numbers: 001
NOTE
RightLeft
BothHand
Left-hand lesson Right-hand lesson
Both-hands lesson
When the melody Voice of
the Song is changed, the
key position shown in the
display may be shifted (in
octave units), depending on
the Voice selected.
You can select Lessons 1–3
by pressing the [LISTEN &
LEARN], [TIMING] and
[WAITING] buttons, respec-
tively.
The Split Point is fixed and it
cannot be changed. For the
left-hand lesson, it is fixed at
59 or B2; for the left-hand
chord lesson, it is fixed at 54
or F
#
2.
Regardless of how strongly
you play the keys, the level
of the sound does not
change. As a result, your
performance may not sound
exactly like the model or
example, depending on the
selected song.
NOTE
NOTE
NOTE
NOTE

Other manuals for Yamaha PSR-E233

Related product manuals