EasyManua.ls Logo

YASKAWA YASNAC J50

YASKAWA YASNAC J50
180 pages
To Next Page IconTo Next Page
To Next Page IconTo Next Page
To Previous Page IconTo Previous Page
To Previous Page IconTo Previous Page
Loading...
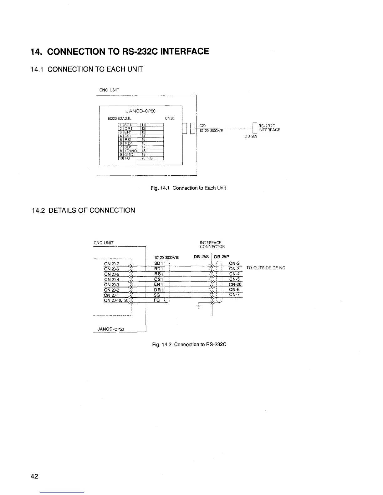
14. CONNECTION TO RS-232C INTERFACE
14.1 CONNECTION TO EACH UNIT
CNC UNIT
JAN CD-CP50
10220-52A2J L
CN20
w
1 SG1 11
2 DR1 12
3 ER1 13
4 Csl 14
5 RS1
15
6 RD1 16
7 SD1
17
6 DINO 18
9 024DI
10 FG ;; FG
C20
RS-232C
1012O-3OOOVE
INTERFACE
DB25S
Fig. 14.1 Connection to Each Unit
14.2 DETAILS OF CONNECTION
CNC UNIT
INTERFACE
CONNECTOR
—._____.-.—.-.—.—., I TO12f-3W0VE DB-25s
,
I
-. ——. .—. -.— .-. —.
JANCD-CP59
DE-25P
.
(;
>,
CN-2
>,
,, CN-3
>
CN-4
>j :
CN-5
>’
CN-20
:;
CN-6
\
!:
CN-7
>,’
+“;
TO OUTSIDE OF NC
Fig. 14.2 Connection to RS-232C
42

Related product manuals