EasyManua.ls Logo

A.O. Smith BTH 300 - 6 INCH CONCENTRIC TERMINATION INSTALLATION; 6 INCH CONCENTRIC TERMINATION VERTICAL INSTALLATION; 6 INCH CONCENTRIC TERMINATION SIDEWALL INSTALLATION

A.O. Smith BTH 300
76 pages
Print Icon
To Next Page IconTo Next Page
To Next Page IconTo Next Page
To Previous Page IconTo Previous Page
To Previous Page IconTo Previous Page
Loading...
30
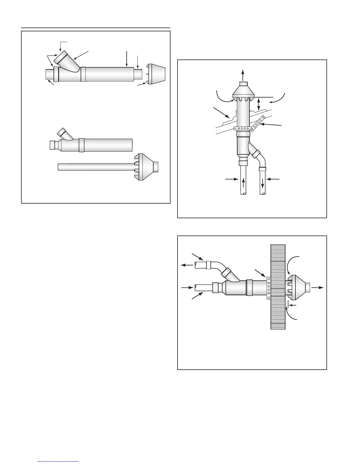
6 INCH CONCENTRIC TERMINATION INSTALLATION
6 INCH CONCENTRIC TERMINATION KIT
FIELD ASSEMBLY REQUIRED
VENT PIPE
INTAKE AIR CONNECTION
VENT CONNECTION - 4 INCH PVC
INTAKE AIR PIPE
Y FITTING ASSEMBLY
VENT CAP
VENT PIPE ASSEMBLY
VENT PIPE IS 4 INCH SDR-26 PIPE
SUPPLIED LENGTH 46.50” (118 cm)
MINIMUM ALLOWABLE LENGTH 16.38” (41.6 cm)
INTAKE AIR PIPE IS 6 INCH SDR-26 PIPE
SUPPLIED LENGTH 25.38” (64.5 cm)
MINIMUM ALLOWABLE LENGTH 12” (30 cm)
VENT CAP
INTAKE AIR PIPE
6” x 6” x 6”
Y FITTING
6” x 4” BUSHING
(FACTORY
INSTALLED)
Figure 25
$VVHPEOHDQGLQVWDOOWKHLQFKFRQFHQWULFWHUPLQDWLRQ5HIHUWR
)LJXUH)LJXUHDQG)LJXUHIRUWKHVHLQVWUXFWLRQV
 &HPHQWWKH<¿WWLQJWRWKHODUJHUGLDPHWHULQWDNHDLUSLSH
 6OLGHWKHLQWDNHDLUSLSHDQG<¿WWLQJDVVHPEO\IURPLQVLGHWKH
EXLOGLQJWKURXJK WKHKROHFXW IRUWKH WHUPLQDWLRQLQWKHURRI
RUVLGHZDOO(QVXUH QR IRUHLJQPDWHULDOV VXFK DV LQVXODWLRQ
DFFXPXODWHLQVLGHWKHDVVHPEO\
 6HFXUHWKHLQWDNHDLU<¿WWLQJDVVHPEO\XVLQJ¿HOGVXSSOLHG
PHWDOVWUDSSLQJRUHTXLYDOHQWVXSSRUWPDWHULDOV
 2Q LQVWDOODWLRQV LQVWDOOHG WKURXJK WKH URRI VOLGH D ¿HOG
VXSSOLHGSOXPELQJERRWRUURRIÀDVKLQJRYHUWKHLQWDNHDLU<
¿WWLQJDVVHPEO\DQGVHFXUHLWWRWKHURRI
 6HDODURXQGWKHSOXPELQJERRWRUURRIÀDVKLQJ
 &HPHQWWKHYHQWFDSRQWRWKHYHQWSLSH$OWHUQDWHO\D¿HOG
VXSSOLHGVWDLQOHVVVWHHOVFUHZPD\EHXVHGWRVHFXUHWKH
FRPSRQHQWVWRJHWKHUZKHQ ¿HOGGLVDVVHPEO\LVGHVLUHGIRU
FOHDQLQJ$SLORWKROHPXVWEHGULOOHGIRUWKHVFUHZWRSUHYHQW
GDPDJHFUDFNLQJRIWKHYHQWFDSDQGRUYHQWSLSH
 ,QVWDOOWKHYHQWFDSYHQWSLSHDVVHPEO\LQWRWKHLQWDNHDLU<
¿WWLQJDVVHPEO\(QVXUHVPDOOGLDPHWHUYHQWSLSHLVFHPHQWHG
DQGERWWRPHGLQWKH<¿WWLQJ
 &RQQHFWWKHLQWDNHDLUDQGYHQWSLSLQJIURPWKHZDWHUKHDWHU
WRWKHLQFKFRQFHQWULFWHUPLQDWLRQXVLQJ¿HOGVXSSOLHG´[
´UHGXFHUFRXSOLQJVDVQHHGHG&HPHQWDOO¿WWLQJVDQGSLSH
LQSODFH
 5HWXUQ WR 'LUHFW 9HQW ,QVWDOODWLRQ RQ SDJH  WR FRPSOHWH
WKHLQVWDOODWLRQRIWKHLQWDNHDLUDQGYHQWSLSLQJEHWZHHQWKH
FRQFHQWULFWHUPLQDWLRQDQGWKHZDWHUKHDWHU
NOTE: SECURING STRAP
MUST BE FIELD INSTALLED
TO PREVENT MOVEMENT
OF TERMINATION KIT
MAINTAIN 12” (30 cm)
18” (45 cm) FOR CANADA
MINIMUM CLEARANCE
ABOVE HIGHEST ANTICIPATED
SNOW LEVEL. MAXIMUM OF
24” (60 cm) ABOVE ROOF.
ROOF FLASHING
(field supplied)
STRAP
(field supplied)
VENT
PIPE
INTAKE
AIR PIPE
COMBUSTION
AIR
VENT
6 INCH CONCENTRIC TERMINATION
VERTICAL INSTALLATION
Figure 26
6 INCH CONCENTRIC TERMINATION
SIDEWALL INSTALLATION
INTAKE AIR PIPE
STRAP
(field supplied)
VENT PIPE
COMBUSTION
AIR
VENT
1 INCH
MAXIMUM
NOTE: SECURING STRAP MUST BE
FIELD INSTALLED TO PREVENT
MOVEMENT OF TERMINATION KIT
IN SIDEWALL.
Figure 27

Table of Contents

Other manuals for A.O. Smith BTH 300

Related product manuals