EasyManua.ls Logo

A&D GX-2000 - Command Examples

A&D GX-2000
92 pages
Print Icon
To Next Page IconTo Next Page
To Next Page IconTo Next Page
To Previous Page IconTo Previous Page
To Previous Page IconTo Previous Page
Loading...
72
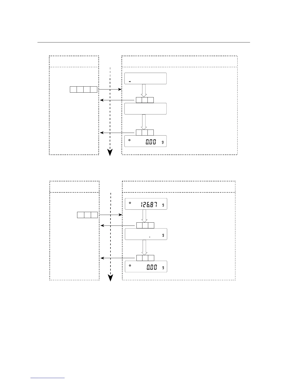
18-3 Command Examples
ON command
R command
Standby mode
Zero display
All segments are displayed
Personal computer Time Balance
ON command
N
C
R
L
F
Command received
Command completed
AK
C
R
L
F
AK
C
R
L
F
O
All segments
Weighing mode
Zero display
In process
Personal computer Time Balance
R command
R
C
R
L
F
AK
C
R
L
F
AK
C
R
L
F
Command received
Command completed

Table of Contents

Other manuals for A&D GX-2000

Related product manuals