EasyManua.ls Logo

A&D GX-2000 - Page 77

A&D GX-2000
92 pages
Print Icon
To Next Page IconTo Next Page
To Next Page IconTo Next Page
To Previous Page IconTo Previous Page
To Previous Page IconTo Previous Page
Loading...
75
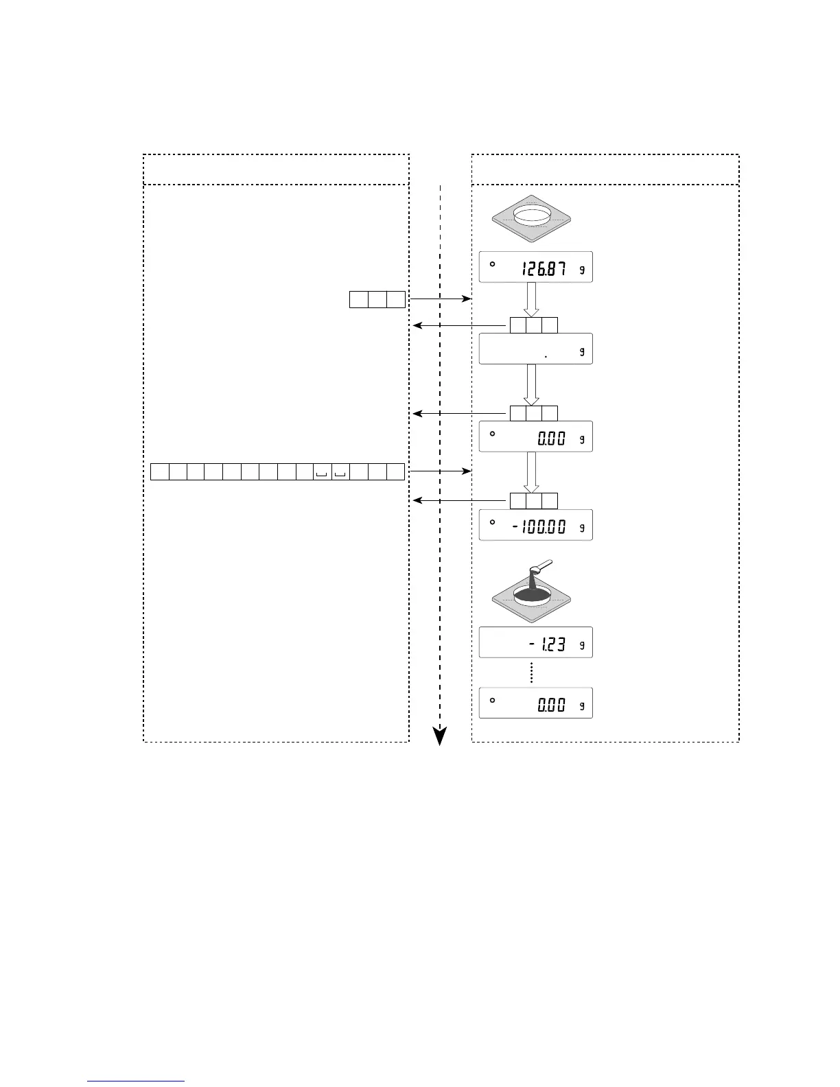
Setting a negative target value and filling with a sample until the display becomes
zero
Place a container
Zero display
Personal computer Time Balance
R command
C
R
R
L
F
AK
C
R
L
F
AK
C
R
L
F
C
R
L
F
g00001:TP .
PT:
command to set a target weight of 100 g
Before command
execution
AK
C
R
L
F
AK
C
R
L
F
Targe t weig ht displ ay
Fill with sample until the
display becomes zero
In process
Command received
Command completed
Command received

Table of Contents

Other manuals for A&D GX-2000

Related product manuals