EasyManua.ls Logo

ABB ATS021 - Page 9

ABB ATS021
36 pages
Print Icon
To Next Page IconTo Next Page
To Next Page IconTo Next Page
To Previous Page IconTo Previous Page
To Previous Page IconTo Previous Page
Loading...
9
1SDH000759R0002, L4106
Installation and operating instructions, ATS021
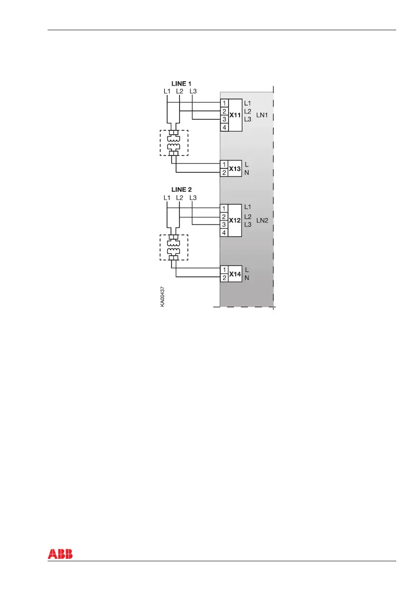
With DIP switches, it can be chosen whether or not the N-line is connected. If ATS021 is used without
the N-line, the external transformer must be used.
Figure 2.5 If ATS021 is used without the N-line, the external transformer must be used.
2. Product overview

Related product manuals