EasyManua.ls Logo

ABB NCAN-02 - Page 26

ABB NCAN-02
74 pages
Print Icon
To Next Page IconTo Next Page
To Next Page IconTo Next Page
To Previous Page IconTo Previous Page
To Previous Page IconTo Previous Page
Loading...
Chapter 4 – Electrical Installation
4-6 NCAN-02 Installation and Start-up Guide
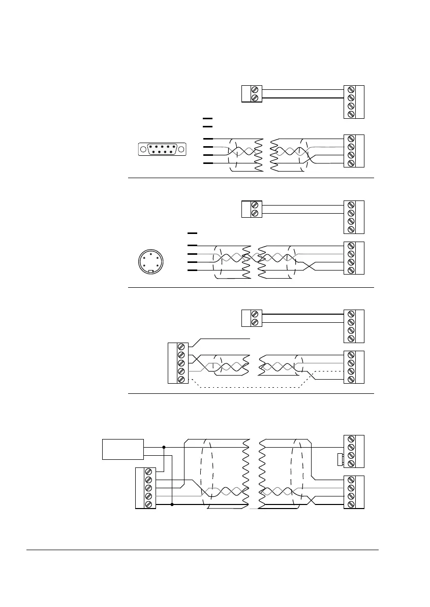
Connection Examples Standard 9-pin DSUB Connector
Standard 5-pin Miniature Connector
Standard Open-style Connection
Non-isolated Node Powered from the Network
Note: Use this connection only if power supply is connected to CAN ground, and the
CAN bus is short.
15
69
Male DSUB Connector
GND
CAN_L
7
2
3
5
CAN_H
SHLD
5678
UC
0 V
1234
Optional CAN Screen
6
9
Optional Ground
Optional Supply Positive
+24 V
0 V
X1
X2
3
2
Male Miniature
GND
CAN_L
4
5
3
1
CAN_H
SHLD
5678
UC
0 V
1234
+24 V
0 V
Optional CAN Screen
2
Optional Supply Positive
Connector
4
51
X1
X2
GND
CAN_L
CAN_H
SHLD
5678
UC
0 V
1234
4321 5
+24 V
0 V
Optional CAN Ground
Optional Supply Positive
X1
X2
GND
CAN_L
CAN_H
SHLD
5678
UC
1234
4321 5
+24 V
CAN Network
Power Supply
0 V
Shorting
Plug
X1
X2

Table of Contents

Related product manuals