EasyManua.ls Logo

ABB REL 356

ABB REL 356
237 pages
To Next Page IconTo Next Page
To Next Page IconTo Next Page
To Previous Page IconTo Previous Page
To Previous Page IconTo Previous Page
Loading...
ABB REL 356 Current Differential Protection
2-24
Installation, Operation and Maintenance
ABB
03-23-97
SW
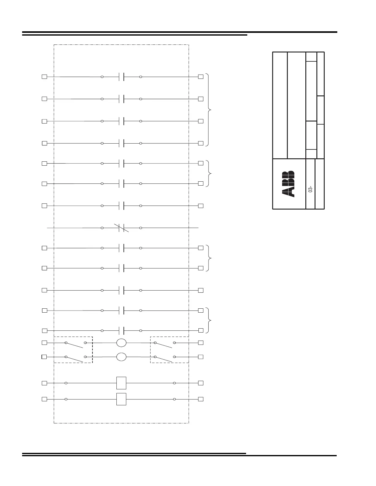
Current differential system using REL356
ABB Automation Inc.
Substation Automation and Protection Division
Allentown, PA
SIZE FSCM NO DWG NO REV
2097D40
SH
3 OF 3
DTT
KEY
RYI
RI-4CC CC
TB5-9
(+)
TB5-7
(+)
RYI
2FT-14
N L
M K
2FT-14
(-)
TB5-10
(-)
TB5-8
TARGET
RESET
TRIP
BKR1
TRIP
BKR2
TB3-11
TB3-12
RI-3
TB3-9
TB3-10
RI-2
TB3-7
TB3-8
RI-1
TB3-5
TB3-6
RB2
TB3-3
TB3-4
RB1
TB3-1
TB3-2
CHAN
AL
TB4-7
TB4-8
FAIL
AL
TB4-5
TB4-6
TA2
TB4-3
TB4-4
TA1
TB4-1
TB4-2
GS
TB2-13
TB2-14
BFI2
TB2-3
TB2-4
BFI1
TB2-1
TB2-2
FAIL
ALARM
CHANNEL
ALARM
TRIP
ALARM
RECLOSE BLOCK
RECLOSE
INITIATE
BREAKER
FAILURE INITIATE
GENERAL
START

Table of Contents

Other manuals for ABB REL 356

Related product manuals