EasyManua.ls Logo

Acer V223HQ - Page 57

Acer V223HQ
69 pages
To Next Page IconTo Next Page
To Next Page IconTo Next Page
To Previous Page IconTo Previous Page
To Previous Page IconTo Previous Page
Loading...
- 57 -
2.
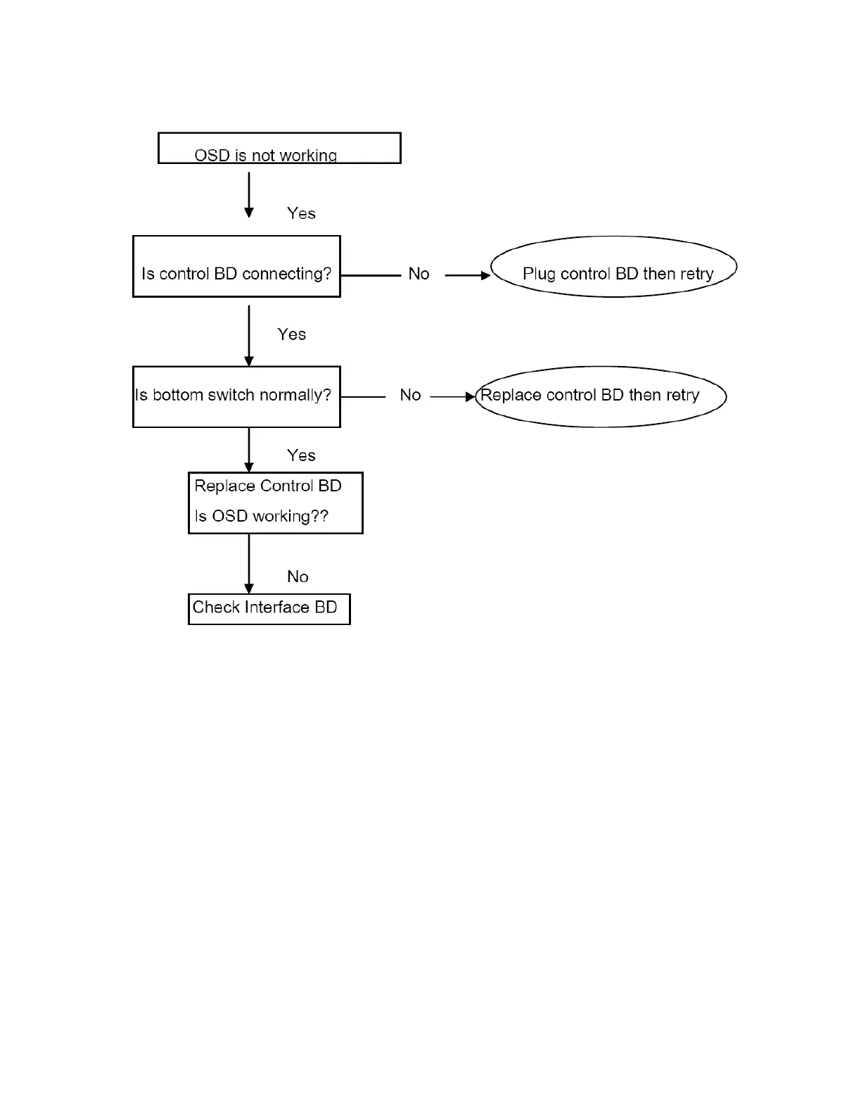
Control Board

Other manuals for Acer V223HQ

Related product manuals