EasyManua.ls Logo

AERMEC PXL 2 E - Page 3

AERMEC PXL 2 E
16 pages
Print Icon
To Next Page IconTo Next Page
To Next Page IconTo Next Page
To Previous Page IconTo Previous Page
To Previous Page IconTo Previous Page
Loading...
3
Le thermostat de régulation PXL2E est un panneau de com-
mande pour ventiloconvecteurs.
Il contrôle le fonctionnement du ventiloconvecteur en fonction
du mode programmé, de la température ambiante et de la
température de l'eau dans le circuit pour maintenir la tempéra-
ture programmée dans l'ambiance.
Ce panneau doit être installé sur le mur et utilisé sur des instal-
lations à 2 tuyaux avec possibilité de raccorder une vanne à
trois voies pour l'arrêt de l'eau d'alimentation de la batterie.
Chaque panneau ne peut contrôler qu'un seul ventiloconvecteur.
Le panneau de commande est arrangé uniquement de cir-
cuits électriques raccordés à la tension 230V; puortant les
entrées pour les sondes et commandes doivent être dûement
isolées pour cette tension.
Aussi les servocommandes des vannes doivent être dimen-
sionnées pour la tension 230V.
PXL2E satisfait aux Directives Basse Tension 73/23 (EN
60730-1, EN 60730-2-11) et compatibilité électromagnéti-
que 89/336, (EN 50082-1, EN 50081-1).
Le panneau peut être ouvert et installé seulement par du per-
sonnel qualifié.
Couper la tension d’alimentation avant d’enlever le couver-
cle du panneau de commande. Le contact avec les compo-
santes sous tension peut causer un choc électrique dangé-
reux. En particulier, il vaut aussi pour l’assise des contacts
sur l’interrupteur SW1 (fig. 10).
Le panneau comprend (fig. 1):
–(A) sélecteur allumé-éteint et mode de ventilation;
–(B) sélecteur de la température;
–(C) touche Chaud/Froid (elle est déshabilitée si on utilise la
sonde SW3);
–(D) touche Economy;
–(E) LED jaune, fonctionnement Confort/Economy/Stand-by;
–(F) LED verte, fonctionnement Froid;
–(G) LED rouge, fonctionnement Chaud.
Attention, le panneau contient la sonde de détection et il doit
par conséquent être installé dans le local à climatiser, dans un
position appropriée.
Der Raumtemperaturregler PXL2E ist ein Regler für
Gebläsekonvektoren.
Er steuert den Betrieb des Gebläsekonvektors je nach dem eingestel-
lten Betriebsmodus, der Raumtemperatur und der Temperatur des
im Kreislauf enthaltenen Wassers, um die eingestellte Temperatur im
Raum aufrechtzuerhalten.
Der Regler wird an der Wand installiert; er wird für 2-
Leitersysteme mit Anschlußmöglichkeit für ein On/Off-Ventil
für die Absperrung des Wassers für die Batterieversorgung
benutzt.
Jeder Regler kann nur einen Gebläsekonvektor steuern.
Das Gerät enthält nur mit dem 230V; Netz verbundene
Stromkreise. Sämtliche Fühler und Schaltkontakt-Eingänge
müssen deshalb entspreched 230V isoliert sein.
Die eingesetzten Ventile müssen für 230V ausgelegt sein.
PXL2E entspricht den Richtlinien für Niederspannung
(73/23), (EN 60730-1, EN 60730-2-11) und elektromagneti-
sche Verträglichkeit (89/336), (EN 50082-1, EN 50081-1).
Das Gerät darf nur von einem Fachmann geöffnet und angesch-
lossen werden.
Vor dem Entfernen der Abdeckung ist das Gerät spannung-
sfrei zu schalten. Beim Berühren der Komponenten besteht
die Gefahr eines gefährlichen elektrischen Schlags. Dies gilt
insbesondere auch für die Betätigung der SW1 (fig. 10).
Der Regler umfaßt (Abb. 1):
–(A) Wahlschalter ein/aus und Belüftungsmodus;
B) Temperaturwähler;
–(C) Taste warm/kalt (wird mit der Sonde SW3 deaktiviert);
–(D) Economy-Taste;
–(E) gelbe Led, Funktionsweise Confort/Economy/Stand-by;
–(F) grüne Led, Kaltbetrieb;
–(G) rote Led, Warmbetrieb.
Der Regler enthält die Meßsonde und muß daher in einer geei-
gneten Position im zu klimatisierenden Raum installiert werden.
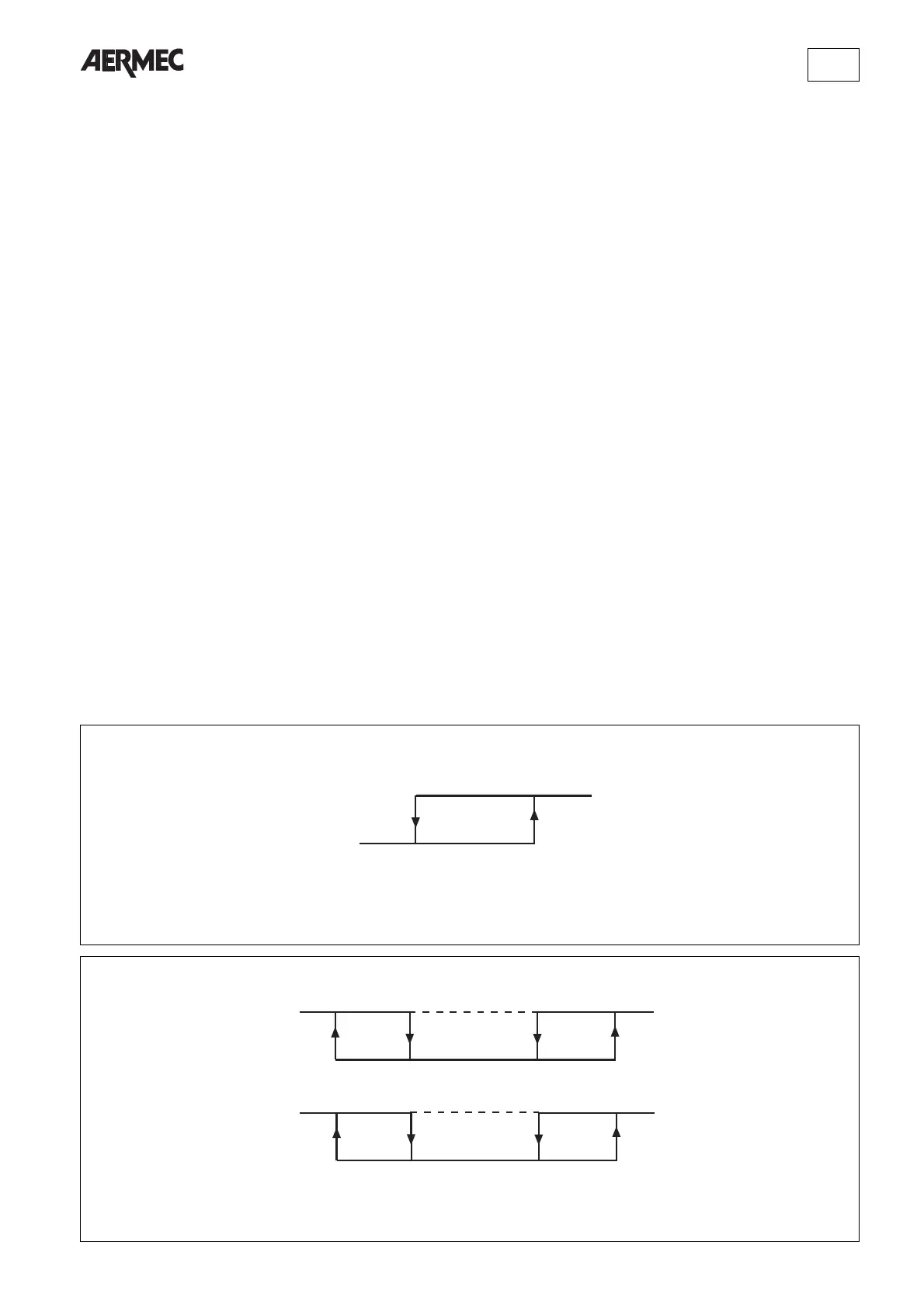
Off
On
On
Off
Controllo a Freddo
Cooling control
Contrôle à Froid
Kontrolle im Kühltrieb
39°C
17°C
35°C22°C
Off
On
On
Off
SW3
Controllo a Caldo
Heating control
Contrôle à Chaud
Kontrolle im Heizbetrieb
SW3 assente - Without SW3
Sans SW3 - Ohne SW3
SW3 assente - Without SW3
Sans SW3 - Ohne SW3
Ventilazione
Ventilation
Ventilation
Ventil
Valvola
Valve
Vanne
Belüftung
Fig. 3
FREDDO
COOL
FROID
KALT
39°C
SW3
17°C
CALDO
WARM
CHAUD
WARM
Fig. 2

Related product manuals