EasyManua.ls Logo

Aeroflex PSD60-2R - Equipment Description and Front Panel

Aeroflex PSD60-2R
22 pages
Print Icon
To Next Page IconTo Next Page
To Next Page IconTo Next Page
To Previous Page IconTo Previous Page
To Previous Page IconTo Previous Page
Loading...
Aeroflex Operation Manual
PSD60-2R – REV 01 – SEPTEMBER 30, 2010 – PAGE 1-2
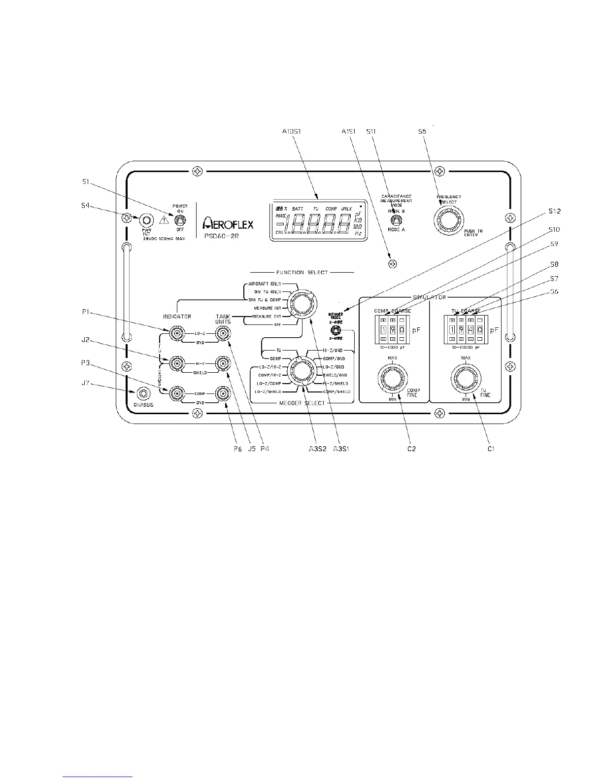
1.2 EQUIPMENT DESCRIPTION
Figure 1-1 shows the front panel of the test set. Refer to Table 1-1 for the description and function of each item.
FIGURE 1-1