EasyManua.ls Logo

AFM ES-200A - Schematic Diagrams; ES-200 V2 Wiring Diagram

Default Icon
42 pages
Print Icon
To Next Page IconTo Next Page
To Next Page IconTo Next Page
To Previous Page IconTo Previous Page
To Previous Page IconTo Previous Page
Loading...
24 Schematic Diagrams
4510003 Rev B
Schematic Diagrams
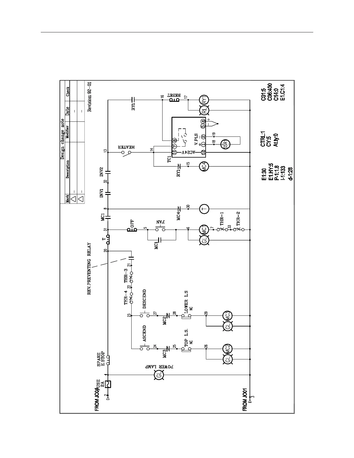
ES-200 V2 Wiring Diagram
P01:02
P46: 0
0
FAN INVERTER SETTING
1
2
TC1
SETTING :

Related product manuals