EasyManua.ls Logo

Akai AP-D40

Akai AP-D40
59 pages
To Next Page IconTo Next Page
To Next Page IconTo Next Page
To Previous Page IconTo Previous Page
To Previous Page IconTo Previous Page
Loading...
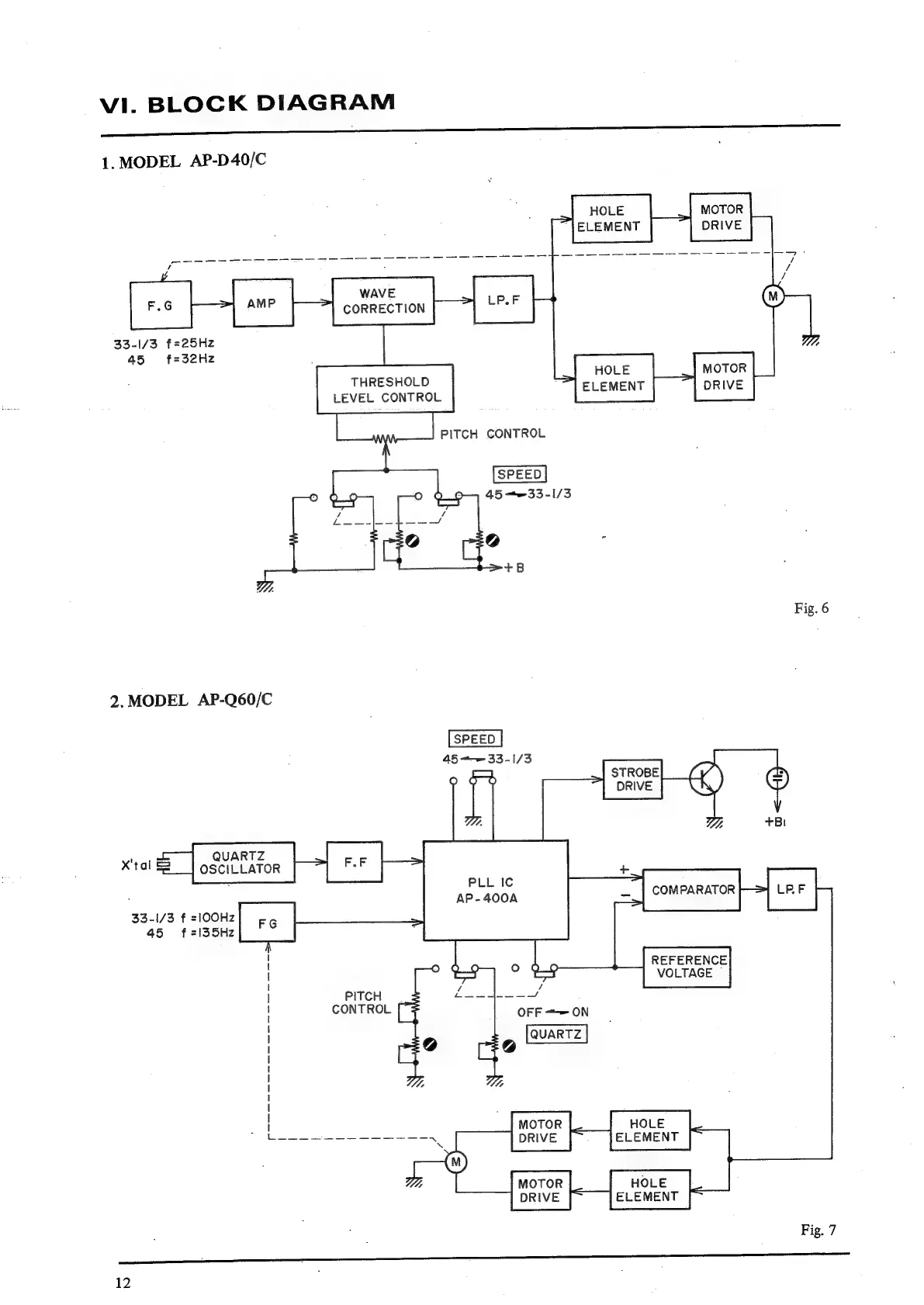
VI.
BLOCK
DIAGRAM
1.
MODEL
AP-D40/C
HOLE
MOTOR
ELEMENT
eS
ee
WAVE
CORRECTION
33-1/3
f=25Hz
THRESHOLD
a
CONTROL
45
f=32Hz
eee
ee
CONTROL
O
Q_0
0
O_O
45
+=
33-1/3
HOLE
ELEMENT
DRIVE
Bac
ie
+B
Fig.
6
2.MODEL
AP-Q60/C
45
==
33-1/3
=
STROBE
ea
4)
@
7.
Ye
+Bi
7
PLL
Ic
33-I/3
f
=100Hz
45
f
=|35Hz
SERENCE
vo
RES
ERENCE
PITCH
é—4--=
CONTROL
pees
QUARTZ
oe:
ee
Zi
‘lo
HOLE
ELEMENT
HOLE
ELEMENT
MOTOR
DRIVE
N
os
26
<
ag
Fig.
7
12

Related product manuals