EasyManua.ls Logo

Akai GX-F51

Akai GX-F51
133 pages
To Next Page IconTo Next Page
To Next Page IconTo Next Page
To Previous Page IconTo Previous Page
To Previous Page IconTo Previous Page
Loading...
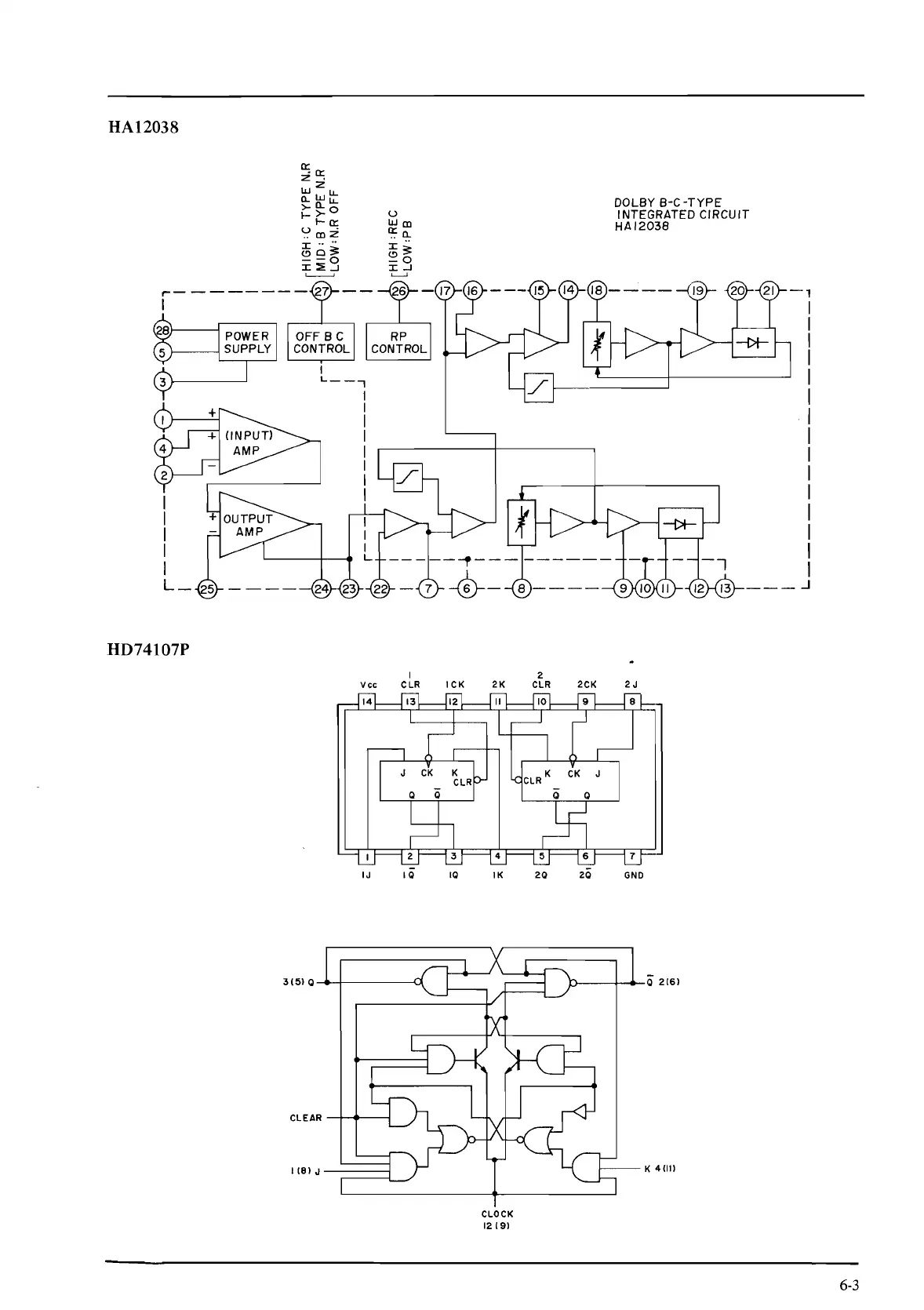
HA12038
a::
a::
z .
WZLJ...
Q. w
LJ...
~g:o
I-
a::
u .
..
CD
Z
I
....
(!)OS::
--o
I ::ie...J
'----'
u
~
CD
..
Q.
I~
~o
I
...J
L-J
,---------
1
POWER OFF
BC
RP
1-----<
SUPPLY CONTROL CONTROL
HD74107P
I
L--7
I
I
I
I
Vee
CLR
IJ
IQ
I
18
l J
-~-=--=--=---'1___,,,
ICK
IQ
2K
IK
CLOCK
12191
2
CLR
2Q
2CK
20
DOLBY
8-C-TYPE
INTEGRATED CIRCUIT
HAl2O38
___
_J
2J
GND
K
4(111
6-3

Related product manuals