EasyManua.ls Logo

Akai VS-2EGN

Akai VS-2EGN
193 pages
To Next Page IconTo Next Page
To Next Page IconTo Next Page
To Previous Page IconTo Previous Page
To Previous Page IconTo Previous Page
Loading...
1c
|
MS4532P
TOP
view
&
Fig.
7-71
IC1
Block
Diagram
GND
Fig.
7-72
Equivalent
Circuit
of
Inverter
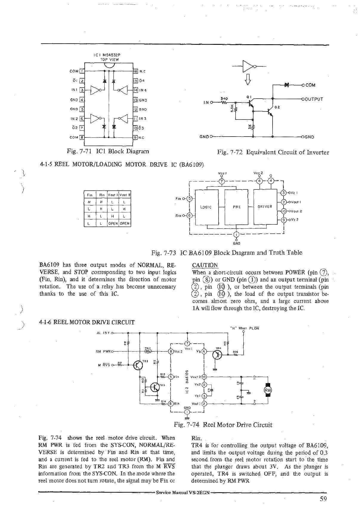
4-1-5
REEL
MOTOR/LOADING
MOTOR
DRIVE
IC
(BA6109)
Fin_|
Rin
[Vout
#|vout
2|
«fate
le
es
uftafela
witelale
Raw
u_
|
t
[oren|oren
ORIVER
Fig.
7-73
IC
BA6109
Block
Diagram
and
Truth
Table
BA6109
has
three
output
modes
of
NORMAL,
RE-
VERSE,
and
STOP
corresponding
to
two
input
logics
(Fin,
Rin),
and
it
determines
the
direction
of
motor
rotation.
The
use
of
a
relay
has
become
unnecessary
thanks
to
the
use
of
this
IC.
4-1-6
REEL
MOTOR
DRIVE
CIRCUIT
CAUTION
When
a
short-circuit
occurs
between
POWER
(pin
®,
pin
(8)
or
GND
(pin
and
an
output
terminal
(pin
>
pin
),
or
between
the
output
terminals
(pin
>
pin
),
the
load
of
the
output
transistor
be-
comes.
almost
zero
ohm,
and
a
large
current
above
1A
will
flow
through
the
IC,
destroying
the
IC.
“H"
When
PLOW
ALIS
Fig.
7-74
Reel
Motor
Drive
Circuit
Fig.
7-74
shows
the
reel
motor
drive
circuit.
When
RM
PWR
is
fed
from
the
SYS-CON,
NORMAL/RE-
VERSE
is
determined
by
Fin and
Rin
at
that
time,
and
a
current
is
fed
to
the
reel
motor
(RM).
Fin
and
Rin
are
generated
by
TR2
and
TR3
from
the
M
RVS
information
from
the
SYS-CON.
In
the
mode
where
the
reel
motor
does
not
turn
rotate,
the
signal
may
be
Fin
or
Rin.
TR4
is
for
controlling
the
output
voltage
of
BA6109,
and
limits
the
output
voltage
during
the
period
of
0,3
second
from
the
reel
motor
rotation
start
to
the
time
that
the
plunger
draws
about
3V.
As
the
plunger
is
operated,
TR4
is
switched
OFF,
and
the
output
is
determined
by
RM
PWR
Service
Manual
VS-2EGN
59

Related product manuals