EasyManua.ls Logo

Akva BOX - AKVA DECO

Default Icon
52 pages
Print Icon
To Next Page IconTo Next Page
To Next Page IconTo Next Page
To Previous Page IconTo Previous Page
To Previous Page IconTo Previous Page
Loading...
Page
26
AKVA SOFT / AKVA JUNIOR
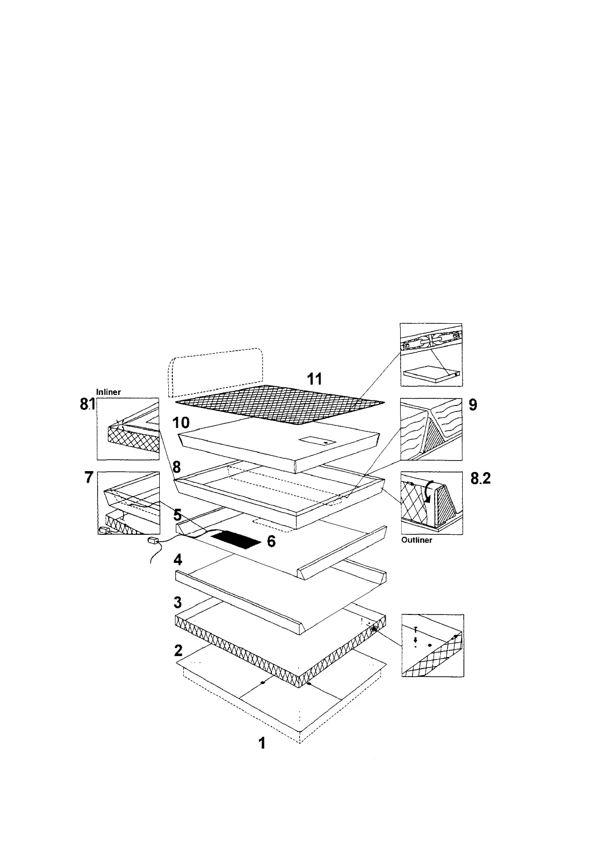
Fit base frame (1) and (2). See instructions for Akva bases.
Fit the bottom of the cover so that the Akva logo is located at the foot end (3). Remove
the top, place the fixing paddles in the holes at the bottom of the cover, secure them by
placing them in the holes of the base board.
Place the side foam frames in the cover (4), then head and foot end foams (5).
Position the heating element(s) (6). Feed out the tube under the foam frame, through the
hole in the bottom of the cover and the bottom plate as shown on drawing (7). See the
instructions for the Akva Vital Electronic heating elements before fitting them.
Fit the safety liner (8). The safety liner is supplied in two variants: inliner (8.1) and
outliner (8.2).
If it is a bed with two water mattresses, place the foam or water divider in the centre (9)
after fitting the safety liner.
Place the water mattress in the safety liner (10). See the instructions for water
mattresses.
After filling with water, remove the air and add Long Life (water disinfectant.) Zip the top
of the cover to the bottom of the cover (11). See also instructions for cover.

Related product manuals