EasyManua.ls Logo

Akva BOX - AKVA 2 BOX

Default Icon
52 pages
Print Icon
To Next Page IconTo Next Page
To Next Page IconTo Next Page
To Previous Page IconTo Previous Page
To Previous Page IconTo Previous Page
Loading...
Page 3
AKVA 2 BOX
Directions for box base with drawers only on one side and beds 90, 100 or 120 cm
wide.
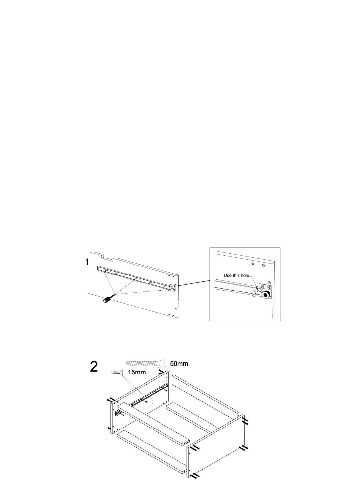
Fit the rails on the cabinet sides where 3 points are marked with holes (1). Use
the indicated holes shown on drawing (1). Turn the wheels on the rails
downwards.
Assemble the cabinets as shown (2).
The cabinets are assembled with an intermediate piece (3) at the drawer opening.
Place one intermediate piece on the cabinets at the foot end (3).
Fit a head end piece which may vary in length depending on the length of the bed
at the head end (3).
Assemble the base parts with aluminium corners (4).
If equipped with headboard: fit the headboard fittings to the head end piece ( 5 ).
Assemble the drawers by putting down the drawer bottom inside the drawer sides,
then screw the drawer back onto the metal sides (6). Please note that the drawer
back is placed on top of the drawer bottom ( 6 ). Mount the brackets on the
drawer front and the drawer bottom holders ( 6 ).
You can adjust the height of the drawer by turning the screw on the lock bracket
(7). Please note that the height can only be adjusted when the screw is loosened
(8).
Position the stabilisers as shown in the drawing. With headboard (9).
Without headboard (10 ).
For fitting of the base boards: see the instructions for the Akva box base

Related product manuals