EasyManua.ls Logo

Alpine 9861 - DVA - DVD Player - Repeat Play; Random Play)

Alpine 9861 - DVA - DVD Player
208 pages
Print Icon
To Next Page IconTo Next Page
To Next Page IconTo Next Page
To Previous Page IconTo Previous Page
To Previous Page IconTo Previous Page
Loading...
12-EN
01GB05DVA9861.fm
ALPINE DVA-9861 68-04123Z61-A (EN)
Do not remove a CD during its eject cycle. Do not load more than
one disc at a time. A malfunction may result from doing either.
If the CD does not eject, press and hold for at least 2 seconds.
The CD-player can play discs containing audio data, MP3 data and
WMA data.
A WMA format file that is protected by DRM (Digital Rights
Management) cannot be played back on this unit.
The track display for MP3/WMA data playback is the file numbers
recorded on the disc.
The playback time may not be correctly displayed when a VBR
(Variable Bit Rate) recorded file is played back.
If is pressed during M.I.X. DISC playback, new file will be played
back in a random sequence. If is pressed, the beginning of the
current file will be played back.
MP3/WMA Play Display
The folder number and file number will be displayed as described
below.
Press TITLE to switch the display. Please see “Displaying the Text”
(page 23) for information about display switching.
If the folder number or file number is three digits, F or T becomes
numbers of hundred rank.
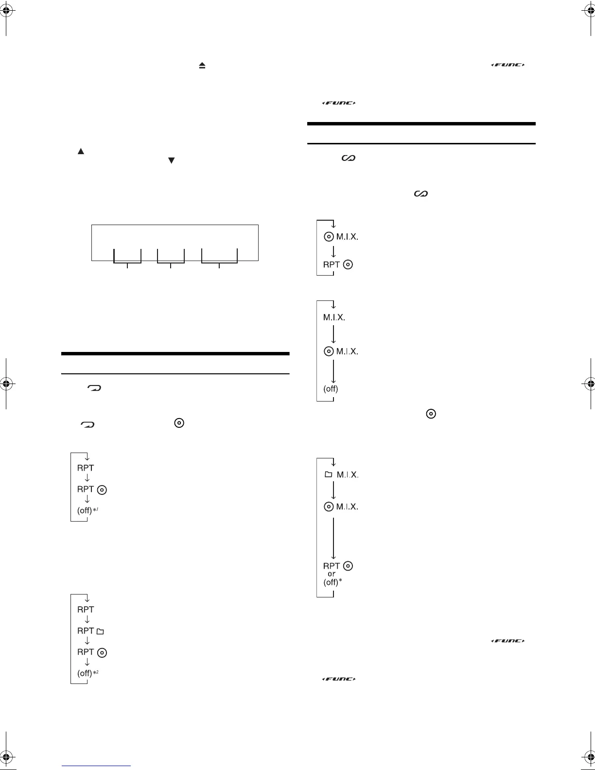
Repeat Play
Press 4 to play back repeatedly the track being
played.
The track (file) will be played repeatedly.
Press 4 again and select RPT to deactivate repeat play.
CD mode :
*
1
When a CD changer is connected
If REPEAT is set to ON during M.I.X. (M.I.X. ONE) play in CD
changer mode, M.I.X. will apply to the current disc only.
MP3/WMA mode :
*
2
When an MP3 compatible CD changer is connected
If a 6-disc CD changer or an MP3 compatible CD changer is
connected:
In CD changer mode, press FUNC. to illuminate the “
indicator, and go to the step above within 10 seconds.
If a 12-disc CD changer is connected:
In CD changer mode, press FUNC. twice to illuminate the
” indicator, and go to the step above within 10 seconds.
M.I.X. (Random Play)
Press 5 in the play or pause mode.
The tracks (files) on the disc will be played back in random
sequence.
To cancel M.I.X. play, press 5 again.
Internal CD mode :
CD Changer mode :
If M.I.X. is set to ON during RPT (REPEAT ALL) play in CD
changer mode, M.I.X. will apply to the current disc only.
MP3/WMA mode :
* When an MP3 compatible CD changer is connected
If a 6-disc CD changer or an MP3 compatible CD changer is
connected:
In CD changer mode, press FUNC. to illuminate the “
indicator, and go to the step above within 10 seconds.
If a 12-disc CD changer is connected:
In CD changer mode, press FUNC. twice to illuminate the
” indicator, and go to the step above within 10 seconds.
F01
T03
10'15
Folder number
display
File number
display
Elapsed time
: Only a track is repeatedly played back
: A disc is repeatedly played back
: Only a file is repeatedly played back
: Only files in a folder are repeatedly played back
: A disc is repeatedly played back
: The tracks are played back in random
sequence.
: M.I.X. mode off
: The tracks are played back in random
sequence.
: The tracks on all the CDs in the current
magazine will be played back in the random
sequence.
: Only files in a folder are played back in
random sequence.
: The files are played back in random
sequence. If an MP3 compatible CD changer
is connected, all files in a disc are played
back in random sequence, and playback
shifts to the next disc.
: M.I.X. mode off
01GB00DVA9861.book Page 12 Tuesday, December 6, 2005 3:41 PM

Table of Contents

Related product manuals