EasyManua.ls Logo

Aqua Technopool pH-Rx - Calibrating the Chlorine Electrode; Calibrating the Hydrogen Peroxide Electrode

Aqua Technopool pH-Rx
37 pages
Print Icon
To Next Page IconTo Next Page
To Next Page IconTo Next Page
To Previous Page IconTo Previous Page
To Previous Page IconTo Previous Page
Loading...
TECHNOPOOL
Dosing systems for swimming pools ENGLISH
ADSP7000570 rev. 2.0 06/08/2021 23/37
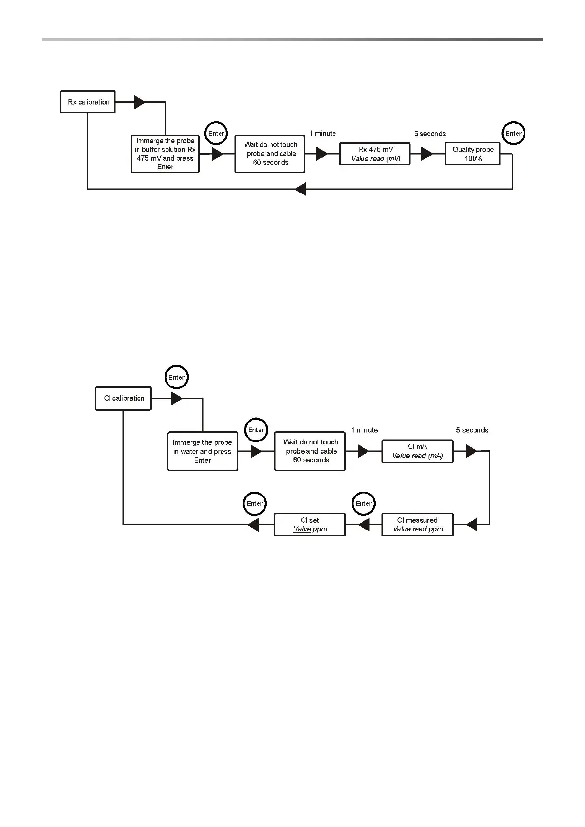
Select the option Rx Calibration from the user menu and follow the instructions displayed.
Once the procedure is completed, the quality of the calibrated electrode will be displayed; if the quality of the probe
results 25% or less, carry out a new calibration.
Should the result still be 25% or less, it is recommended to replace the probe.
4.12 CALIBRATING THE CHLORINE ELECTRODE
(it is displayed for technopool3 pH/ClJ)
The calibration of the chlorine electrode is carried out only on one point, therefore the following material must be
readily available:
DPD1 reference instrument.
Select CI Calibration in the user menu and follow the instructions that scroll on the display.
When the system acquires the calibration value, two parameters regarding the measure are displayed:
the current value (0.00÷20.00 mA).
the measured chlorine value (0.00÷20.00 ppm).
Furthermore, the value detected by the DPD1 reference instrument can be associated with the value measured by
the system using the arrow keys in the Cl set menu.
The value that can be set ranges between 0.00 and 20.00 ppm.
4.13 CALIBRATING THE HYDROGEN PEROXIDE ELECTRODE
(it is displayed for technopool3 pH/HP)
The calibration of the hydrogen peroxide electrode is carried out only on one point, therefore the following material
must be readily available:
DPD4 reference instrument.
Select HP Calibration in the user menu and follow the instructions that scroll on the display.

Table of Contents

Other manuals for Aqua Technopool pH-Rx