EasyManua.ls Logo

ARB 3432050 - Page 6

ARB 3432050
6 pages
Print Icon
To Previous Page IconTo Previous Page
To Previous Page IconTo Previous Page
Loading...
25-9-98 Page 6 of 6 3782513
A) Lift the winch into place and using the washers supplied in the fitting kit (3/8” for 8 or 9,000lb and 7/16” for
10,000lb) and the bolts and spring washers supplied with the winch, bolt securely into position. NOTE: The
gearbox is on the LHS for the 8 & 9,000 winches and on the RHS for the 10,000lb winch. The winch cable
spools from the bottom for all three winches.
B) Wire the winch in accordance with the Warn fitting instructions, taking care not to route the cables over sharp
edges. Tie the cables from the control box to the channel winch mount assembly using the cable tie supplied.
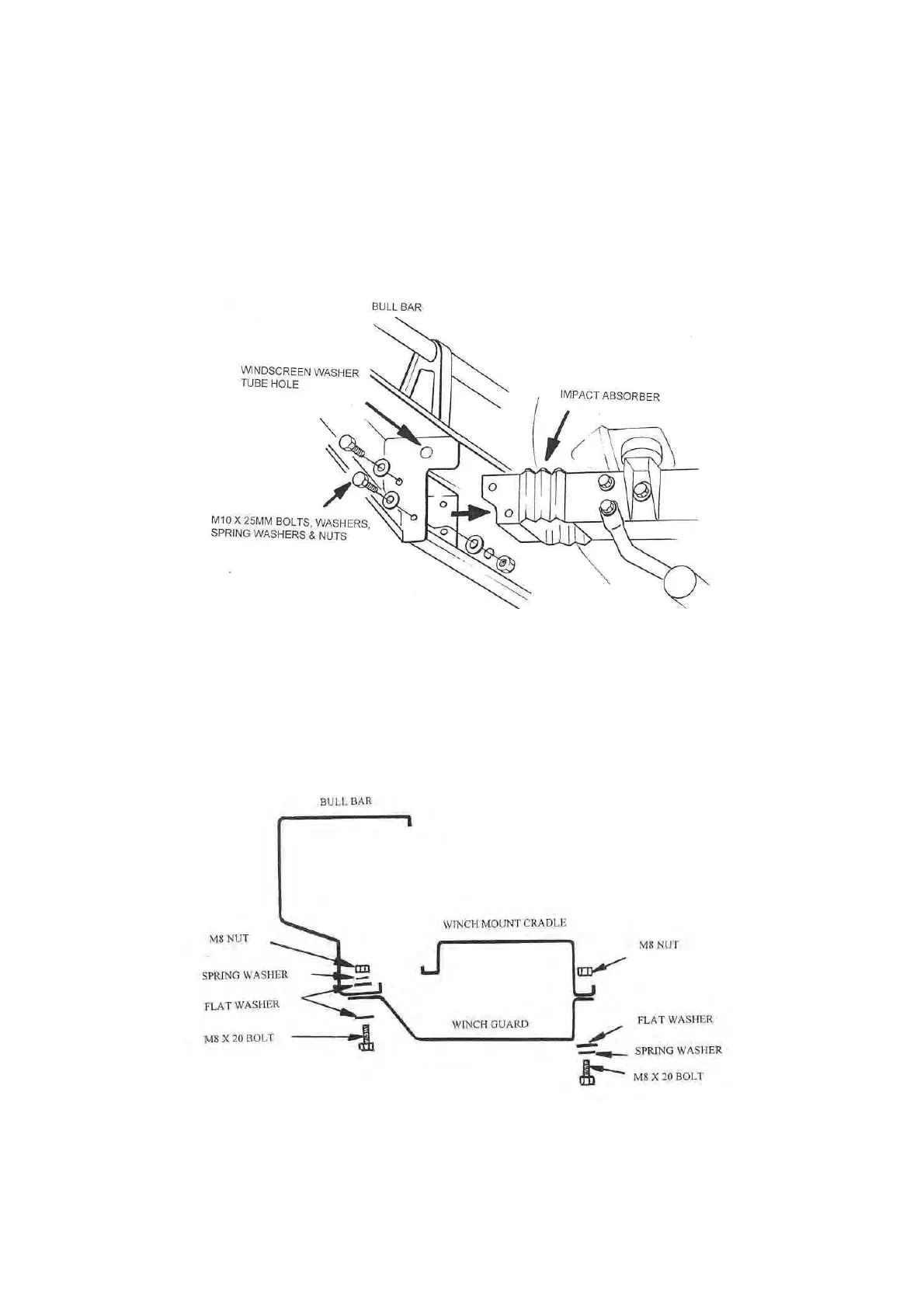
12. Lift the bull bar into place and loosely bolt to the two Impact Absorbers using the M10 x 25mm bolts, (4 per side)
washers, spring washers and nuts. Refer to diagram 5.
DIAGRAM 5
13. Adjust the bull bar until a uniform gap is achieved to the mud guards and grill. Securely tighten all bolts.
14. Connect the windscreen washer tube to the T piece and tighten the clamp.
15. FOR WINCH BARS ONLY: Fit the winch guard (optional for 8 or 9,000lb Winch) to the bull bar and winch
cradle using the M8 x 20mm bolts, flat washers, spring washers and nuts. Align the guard with the bull bar then
tighten the bolts.
DIAGRAM 6
16. Connect the bull bar turn signal indicator looms to the existing turn signal indicator loom with the Scotchloks
supplied and test to ensure they function correctly.

Related product manuals