EasyManua.ls Logo

ARB AIRLOCKER RD136 - Installing the Air Locker; Mounting the Ring Gear

ARB AIRLOCKER RD136
42 pages
Print Icon
To Next Page IconTo Next Page
To Next Page IconTo Next Page
To Previous Page IconTo Previous Page
To Previous Page IconTo Previous Page
Loading...
3 Installing the Air Locker
9
3.1 Mounting the Ring Gear
Remove the bolts that hold the ring gear in place.
IMPORTANT:
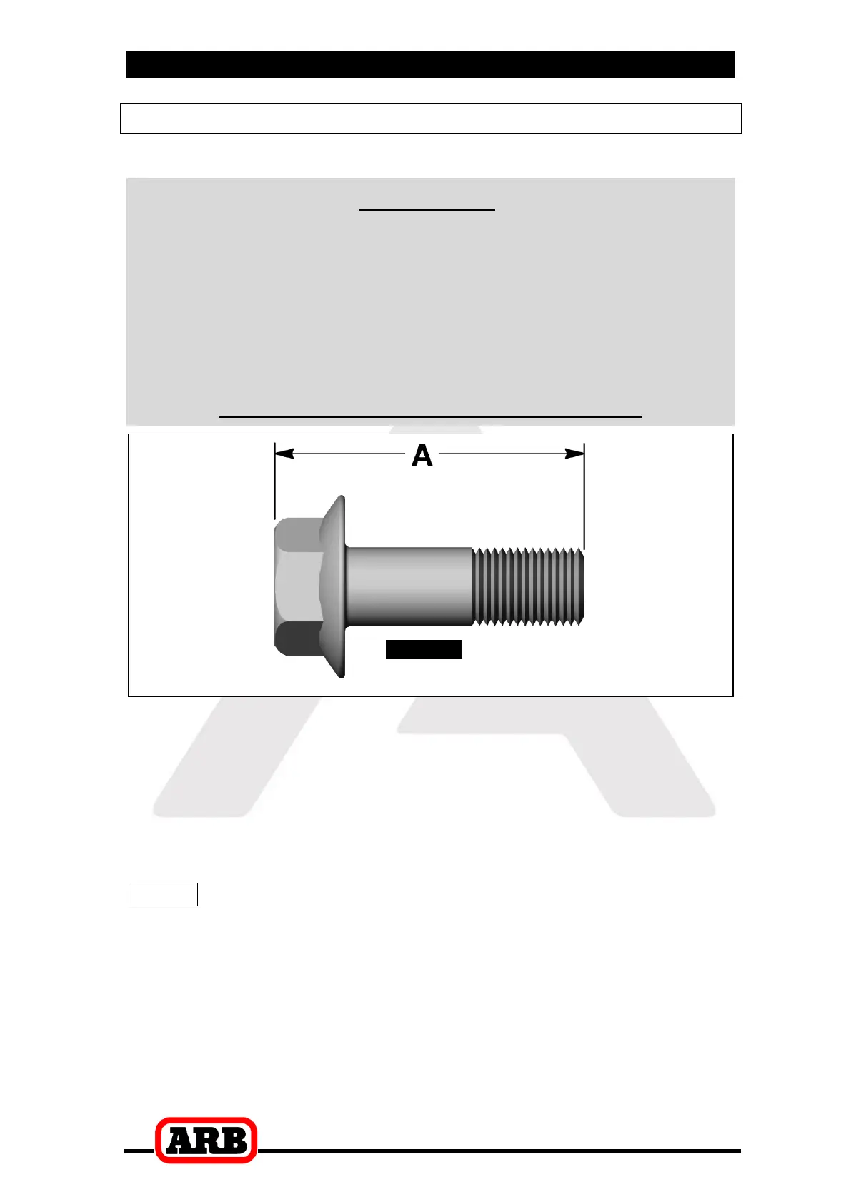
Two different bolt lengths were used on this model of Nissan
differential. Measure the length of the bolts you removed
(shown as ‘A’ in Figure 3.). Your Air Locker was designed to
use 31.5mm [1.24”] bolts (Nissan part # 3810212S00). If your
bolts are of a longer series (i.e., 36mm [1.42”]) then you will
need to use the spacers (supplied) under the bolt heads to
prevent the threads from bottoming out, or acquire the correct
bolts from Nissan.
DO NOT MODIFY YOUR RING GEAR BOLTS!
Figure
3.
Using a plastic or copper hammer, tap in a circle around the ring
gear to separate it from the differential carrier.
Thoroughly clean any thread locking compound or other foreign
matter from the holes of the ring gear, the threads of the ring gear
bolts, the mating surfaces of the ring gear and the Air Locker
flange.
HINT : Rubbing the ring gear mounting face with a flat oil
stone before installation will remove any high spots
around the threads.
Heat the ring gear to between 80 and 100C (175 - 212F) in hot
water or in an oven to slightly expand the gear and facilitate
assembly.

Related product manuals