EasyManua.ls Logo

Atmel ATmega48A - Watchdog System Reset; Internal Voltage Reference

Atmel ATmega48A
567 pages
Print Icon
To Next Page IconTo Next Page
To Next Page IconTo Next Page
To Previous Page IconTo Previous Page
To Previous Page IconTo Previous Page
Loading...
51
8271D–AVR–05/11
ATmega48A/PA/88A/PA/168A/PA/328/P
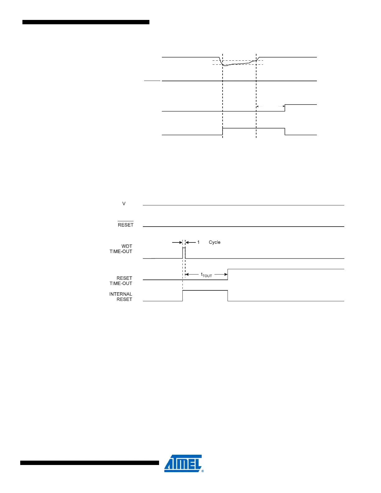
Figure 11-5. Brown-out Reset During Operation
11.6 Watchdog System Reset
When the Watchdog times out, it will generate a short reset pulse of one CK cycle duration. On
the falling edge of this pulse, the delay timer starts counting the Time-out period t
TOUT
. Refer to
page 52 for details on operation of the Watchdog Timer.
Figure 11-6. Watchdog System Reset During Operation
11.7 Internal Voltage Reference
ATmega48A/PA/88A/PA/168A/PA/328/P features an internal bandgap reference. This reference
is used for Brown-out Detection, and it can be used as an input to the Analog Comparator or the
ADC.
11.7.1 Voltage Reference Enable Signals and Start-up Time
The voltage reference has a start-up time that may influence the way it should be used. The
start-up time is given in ”System and Reset Characteristics” on page 324. To save power, the
reference is not always turned on. The reference is on during the following situations:
1. When the BOD is enabled (by programming the BODLEVEL [2:0] Fuses).
2. When the bandgap reference is connected to the Analog Comparator (by setting the
ACBG bit in ACSR).
3. When the ADC is enabled.
Thus, when the BOD is not enabled, after setting the ACBG bit or enabling the ADC, the user
must always allow the reference to start up before the output from the Analog Comparator or
V
CC
RESET
TIME-OUT
INTERNAL
RESET
V
BOT-
V
BOT+
t
TOUT
CK
CC

Table of Contents

Related product manuals