EasyManua.ls Logo

AudioArts Engineering RD-12 - Page 34

Default Icon
112 pages
Print Icon
To Next Page IconTo Next Page
To Next Page IconTo Next Page
To Previous Page IconTo Previous Page
To Previous Page IconTo Previous Page
Loading...
page 3 – 8
RD-12 / March 99
STEREO LINE INPUT
Pin numbers in
( )
are for source "B"
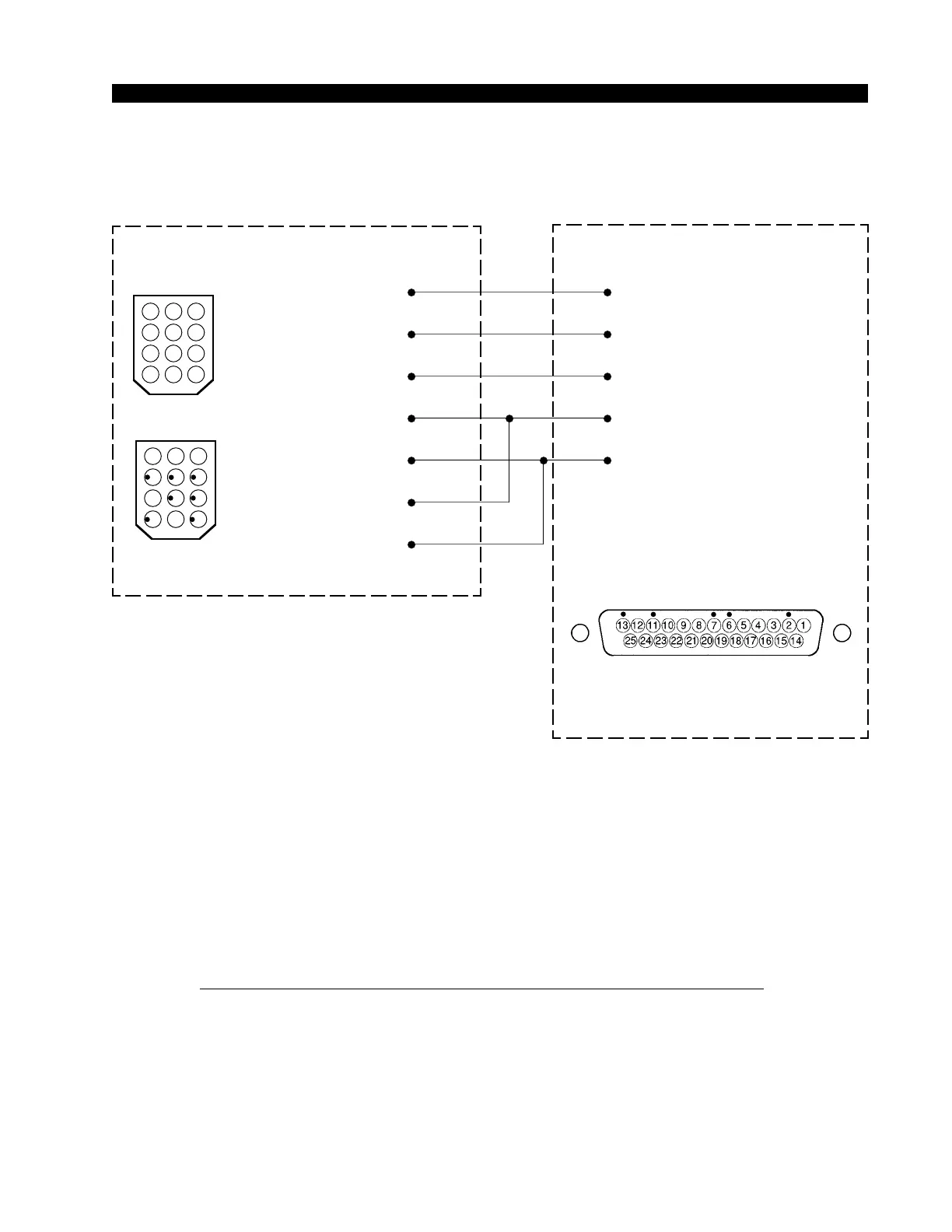
SLD-5 Module C and D AMP
ITC Delta III Cart Machine
ITC Delta III DB-25
Connection Instructions
ITC Delta III Cart Player
(Use two AMP male connectors on each end of cable)
ref: RD-12 Stereo Line Input Module (SLD-5)
5 46
8 79
11 1012
2 13
5 46
8 79
11 1012
2 13
AMP C
AMP D
8(D)
4(D)
6(D)
10(D)
12(D)
5
7(D)
7
2
6
11
13
A STOP +
A READY -
A READY +
A START +
A COMMON
A OFF+
A OFF-
REMOTE START
REMOTE COMMON
REMOTE STOP
+5
REMOTE READY LAMP
(10 C)
(2 D)
(12 C)
(8 C)
(6 C)
(3 D)
(1 D)
(D)
RD-12 / Apr 00

Table of Contents