EasyManua.ls Logo

AURATON 2030 RTH - Description of the AURATON RTH Receiver; Legend - Description of LED Signalling

AURATON 2030 RTH
32 pages
Print Icon
To Next Page IconTo Next Page
To Next Page IconTo Next Page
To Previous Page IconTo Previous Page
To Previous Page IconTo Previous Page
Loading...
6 7
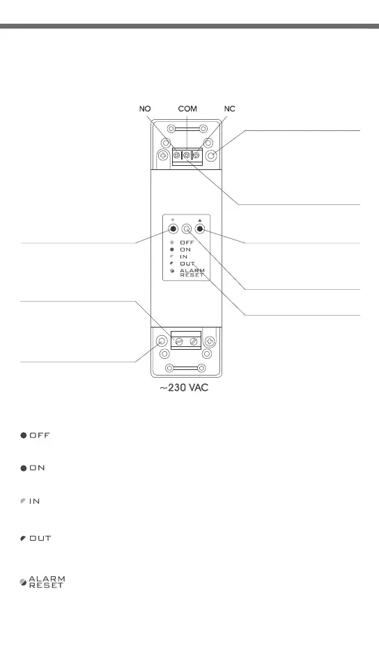
AURATON RTH
cable tie clamp
control connection terminal
(a terminal for fastening a two-core
cable of the heating or air conditioning
device to be controlled
button for deregistering
already paired devices
button for pairing devices
with the RTH receiver
LED indicating operation
of the device
cable tie clamp
power supply terminal
~230 VAC
legend
The LED light’s green the output device is off (the contacts COM
and NC are closed).
The LED light’s red – the output device is on (the contacts COM and
NO are closed).
The LED flashes green the RTH receiver awaits the device
to be paired (chapter: “Pairing the AURATON 2030 RTH wireless
regulator and the RTH receiver”).
The LED flashes red the RTH receiver awaits the device
to be deregistered (chapter: “Deregistering the regulator from the
RTH receiver”).
The LED flashes alternating red and green:
ALARM - the RTH receiver has lost connection with one of the paired
devices (chapter “Special situations”).
RESET - receiver deregisters all previously paired devices - (chapter
“Deregistering all devices paired with the RTH receiver”).
Legend - description of LED signalling
hole for fastening the receiver
to the wall with a screw
hole for fastening the receiver
to the wall with a screw
Description of the AURATON RTH receiver
The AURATON RTH receiver cooperates with the AURATON 2030 RTH wireless
receiver. The receiver is installed on the heating or air conditioning device and can
operate under the load of 16 A.
Connecting cables to AURATON 2030
Proper operation of the regulator is greatly affected by its location. Installing
it in a place with no air circulation or exposed to direct sunlight causes
improper regulation of temperature. In order to ensure proper operation,
the regulator must be installed on an interior wall of a building (partition
wall). A place should be selected that is occupied most frequently, providing
undisturbed circulation of air. Avoid heat radiating devices (television set,
heater, refrigerator etc.) or places exposed to direct sunlight. In order to avoid
vibration, do not place the regulator in close vicinity of doors.
Selecting the proper location for the
AURATON 2030 / 2030 RTH temperature regulator
Cable terminals are located on the rear wall of the regulator. This is a typical
Single Pole Double Throw relay. In the majority of applications the NC
terminal is unused.
COM
NO
NC

Table of Contents

Related product manuals