EasyManua.ls Logo

Avid Technology SMARTCAL - Page 15

Avid Technology SMARTCAL
55 pages
Print Icon
To Next Page IconTo Next Page
To Next Page IconTo Next Page
To Previous Page IconTo Previous Page
To Previous Page IconTo Previous Page
Loading...
CRANECO.
280N.MIDLANDAVE.,STE258,SADDLEBROOK,NJ07663WWW.AVIDCONTROLS.COM
12/17/12 TECH-440/D.W.O. 23135 Page 15 of 55
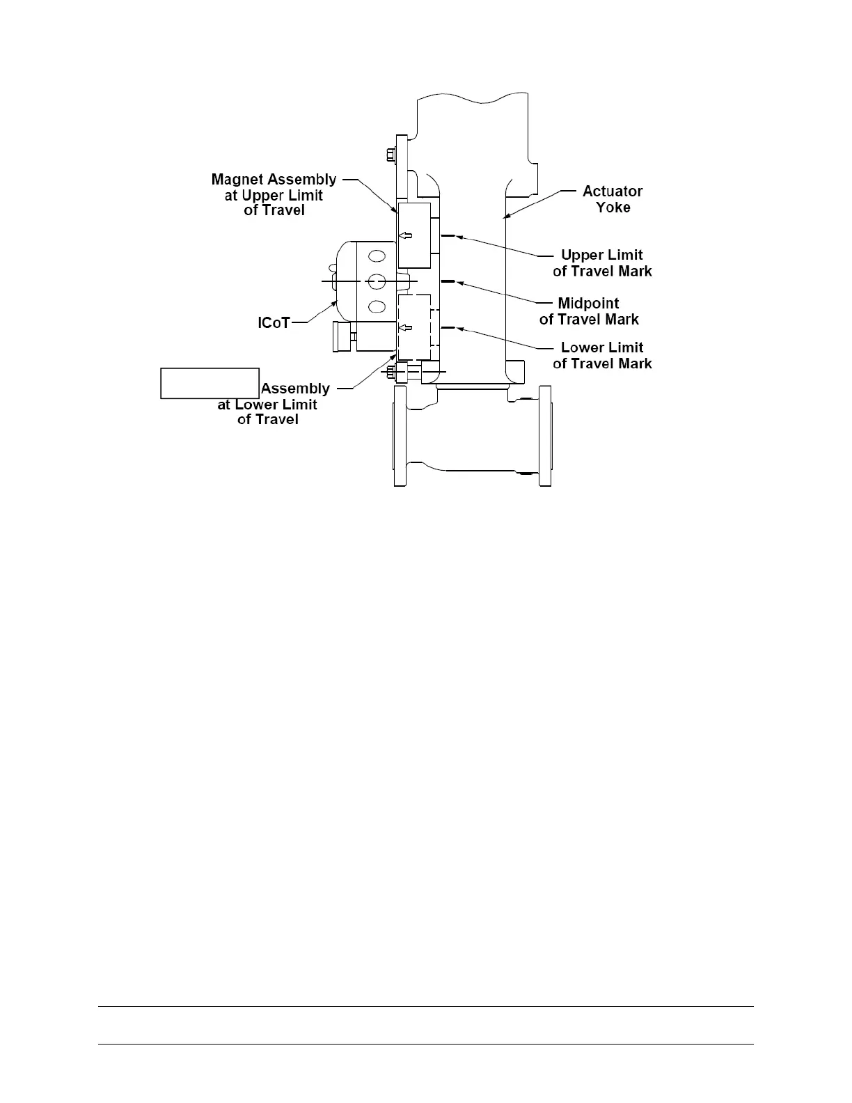
Figure 3-6
To Center the Positioner
1. Stroke the actuator to its upper limit and place a mark on the actuator’s yoke that
lines up with the red arrow on the magnet assembly.
2. Stroke the actuator to its lower limit and place a mark on the actuator’s yoke that
lines up with the red arrow on the magnet assembly.
3. Place a third mark on the yoke centered between the upper and lower limit marks.
4. Lastly, mount the positioner to the bracket so that the positioner sensor (nose) of
the SmartCal lines up with the midpoint mark. (See Figure 3-6).
3.4 Mounting Remote Positioner on a Linear Actuator
SmartCal

Table of Contents

Related product manuals