EasyManua.ls Logo

Axis P1368-E - Page 18

Axis P1368-E
168 pages
Print Icon
To Next Page IconTo Next Page
To Next Page IconTo Next Page
To Previous Page IconTo Previous Page
To Previous Page IconTo Previous Page
Loading...
AXIS P1368-E Network Camera
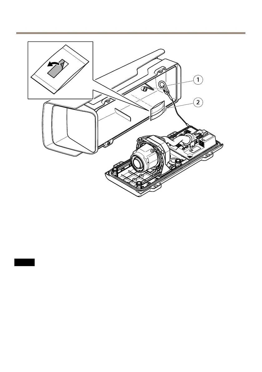
1
Safety hook
2
Desiccant bag
14. Remove the plastic wrapper from the desiccant bag.
15. Remove the protective strip from the adhesive and attach the desiccant bag to the
top cover.
16. Close the housing. Alternately tighten the bottom cover screws a few turns at a time
until they are tight (torque 1.5 Nm). This will compress the bottom cover gasket evenly.
NONO
NO
TICETICE
TICE
Do not pinch any cables when closing the housing.
17. If required, loosen the screws on the weather shield, adjust its position and tighten
the screws.
18
Available from A1 Security Cameras
www.a1securitycameras.com email: sales@a1securitycameras.com

Table of Contents

Other manuals for Axis P1368-E

Related product manuals