EasyManua.ls Logo

Azbil MIZCON Plus - Page 19

Azbil MIZCON Plus
24 pages
Print Icon
To Next Page IconTo Next Page
To Next Page IconTo Next Page
To Previous Page IconTo Previous Page
To Previous Page IconTo Previous Page
Loading...
19 AB-6650
The settings on this page are available for Model R7010WX02..
Continued from the previous page.
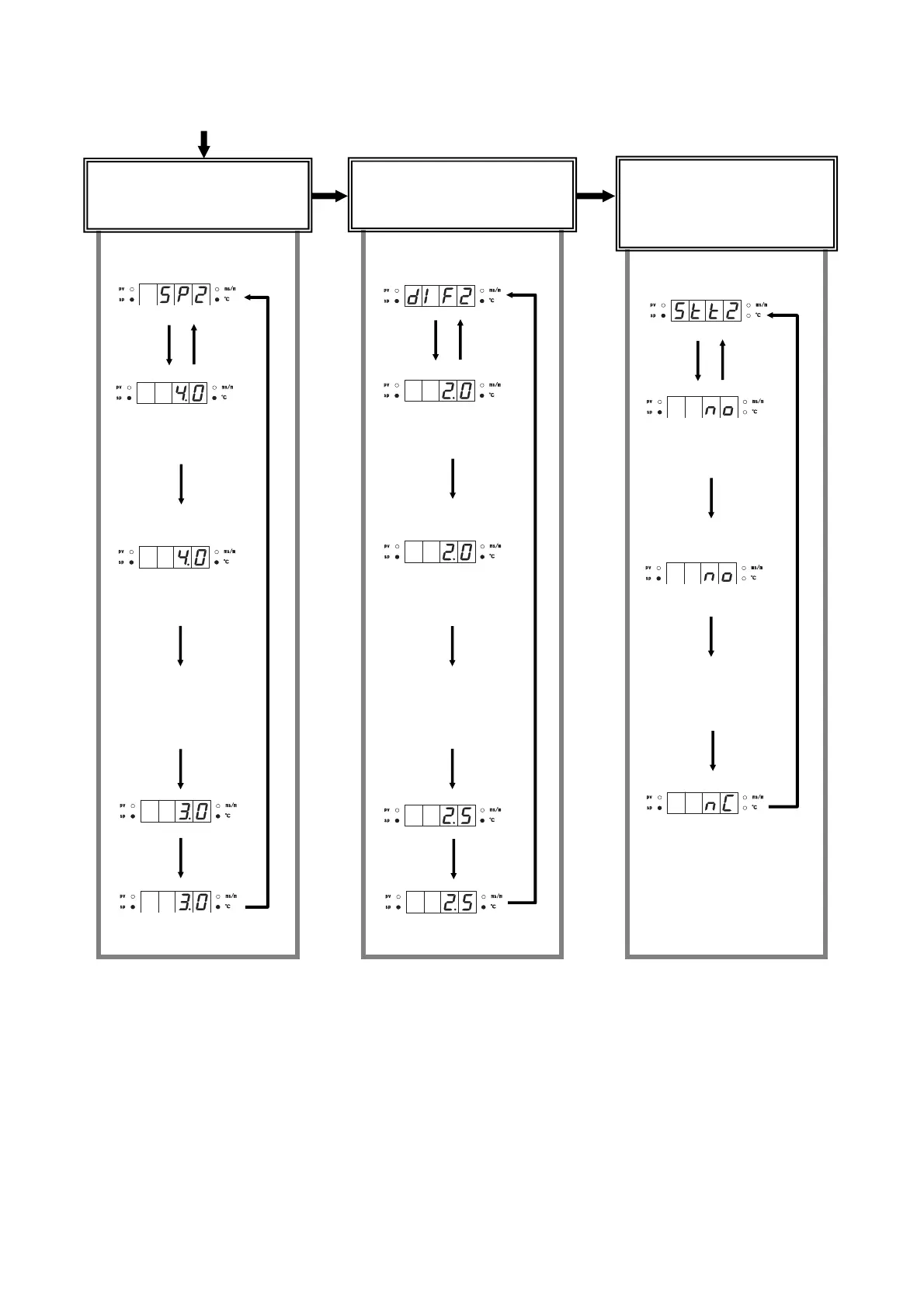
Temperature SP2
setting menu
The SP2 currently set
is displayed.
SP2 setting mode
The first digit (‘4’ in this
case) flashes.
Select the digit to change
with [] key, and change
the value with [] and []
keys.
The SP2 newly set is displayed.
Press
[mode]
key.
Temperature DIF2
setting menu.
The DIF1 currently set is
displayed.
DIF1 setting mode
The first digit (’2’ in this
case) flashes.
Select the digit to change
with [] key, and change
the value with [] and []
keys.
The DIF2 newly set is displayed.
Press
[mode]
key.
Conductivity STT2
setting menu
The STT2 currently set is
displayed.
STT2 setting mode
All the digits flash.
Change the output contact
type (N.O. or N.C.) with
[] and [] keys.
The STT2 newly set is displayed.
Setting of SP2 (output 2 SP)
: temperature
(To change 4 to 3 °C)
Setting of DIF2 (output 2 DIF)
: temperature
(To change 2 to 2.5 °C)
Changeover of STT2
(N.O. or N.C. for output 2)
: temperature
(To change N.O. to N.C.)
Press
[enter]
key.
Press
[enter]
key.
Press
[]
key.
Press
[enter]
key.
Press [enter] key.
Press
[enter]
key.
Press
[enter]
key.
Press
[]
key.
Press
[enter]
key.
Press [enter] key.
Press
[enter]
key.
Press
[enter]
key.
Press
[]
key.
Press
[enter]
key.
Press [enter] key.

Related product manuals