EasyManua.ls Logo

Baumuller BM5000 Series - Display and Operating Elements BM53 XX; Display;Operating Elements Controller BM53 XX

Baumuller BM5000 Series
330 pages
Print Icon
To Next Page IconTo Next Page
To Next Page IconTo Next Page
To Previous Page IconTo Previous Page
To Previous Page IconTo Previous Page
Loading...
Design and Operation
Instruction handbook b maXX 5000
Document No.: 5.09021.16
95
of 328
4
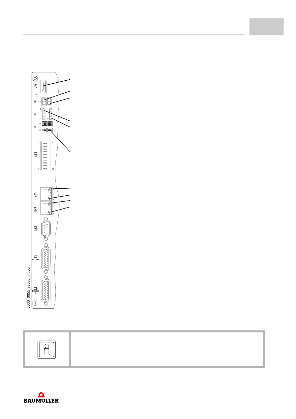
4.4.3 Display and operating elements BM53XX
X1 Service interface
H1
H2
7 segment display axis 1
7 segment display axis 2 (double axis unit)
Display controller state
Meaning refer to: Z7-
segment display controlleron page 96
LED
H11 - H14
H21 - H24
LED axis 1
LED axis 2 (double axis unit)
Meaning: refer to ZLED dis
play controlleron page 97.
Address switch
S1 - S4
Setting: refer to ZSetting
the IP address with address
switchesa
s from page 100.
LED
H31
H32
H41
H42
Fieldbus, depending on type
(refer to ZType cod
eas from page 84)
Meaning:
BM53XX-XXXX-XXXX-01XX
BM53XX-XXXX-XXXX-07XX
ZLE
D EtherCAT
®
.on page 98
BM53XX-XXXX-XXXX-02XX
ZLE
D VARANon page 98
BM53XX-XXXX-XXXX-04XX
ZLE
D POWERLINK
®
.on page 99
Figure 38: Display/operating elements controller BM53XX
NOTE!
Only the service cable BM5-K-USB-XXX is allowed to be used for the service inter-
face X1, refer to ZServic
e interfaceon page 205 and ZService interface cableon
page 250.

Table of Contents

Related product manuals