EasyManua.ls Logo

Baumuller BM5000 Series - Electrical Connections of the Double Axis BM5323, BM5325

Baumuller BM5000 Series
330 pages
Print Icon
To Next Page IconTo Next Page
To Next Page IconTo Next Page
To Previous Page IconTo Previous Page
To Previous Page IconTo Previous Page
Loading...
Electrical connections
Instruction handbook b maXX 5000
Document No.: 5.09021.16 Baumüller Nürnberg GmbH
164
of 328
7.14
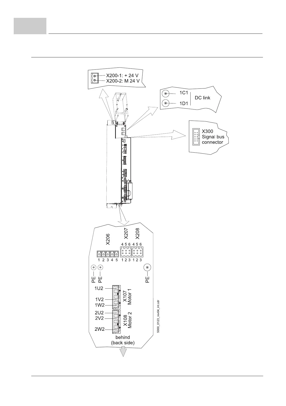
7.14.7 Electrical connections of the double axis BM5323, BM5325
Figure 81: Electrical connections of the double axis BM5323, BM5325

Table of Contents