EasyManua.ls Logo

Baxi TXW1AC - Page 24

Baxi TXW1AC
Print Icon
To Next Page IconTo Next Page
To Next Page IconTo Next Page
To Previous Page IconTo Previous Page
To Previous Page IconTo Previous Page
Loading...
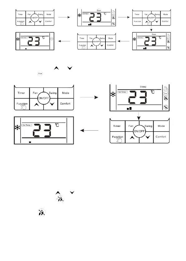
Cancellare la funzione ECO:
1. Premere il tasto "Function" per entrare nella modalità selezione della funzione.
2. Premere i tasti " o per selezionare la funzione ECO, in quel momento
l’icona lampeggia.
3. Premere nuovamente il tasto "Function" per cancellare la funzione ECO.
Il settaggio della funzione "Anti-fungus"
Funzione Anti-fungus: Dopo lo spegnimento, il condizionatore d'aria asciuga
automaticamente l'umidità sull'evaporatore dell'uni interna, in modo da evitare la
formazione di muffa.
Attivare la funzione Anti-fungus:
1. Durante le modalità COOL e DRY, premere il pulsante "Function" per entrare
nella modalità di selezione della funzione.
2. Premere i tasti " o " per selezionare la funzione Anti-Fungus, in quel
momento l’icona " lampeggia.
3. Premere nuovamente il tasto "Function" per attivare la funzione Anti-Fungus,
l’icona " " lampeggia.

Related product manuals