EasyManua.ls Logo

Belarus 952.4 - Page 25

Default Icon
58 pages
Print Icon
To Next Page IconTo Next Page
To Next Page IconTo Next Page
To Previous Page IconTo Previous Page
To Previous Page IconTo Previous Page
Loading...
BELARUS-920.4/952.4 Operating manual
25
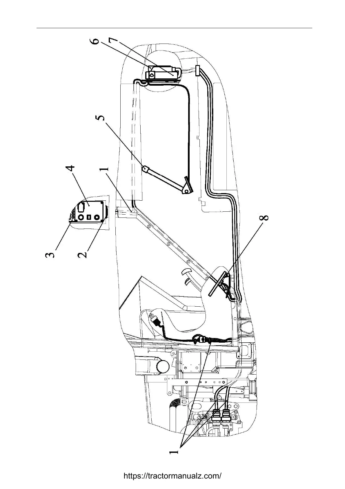
1-connection harnesses, 2-diagnostic equipment connector, 3-information display; 4-control panel; 5- engine mode manual control lever, 6- switching and protec-
tion unit; 7- electronic engine control unit; 8- engine mode control electronic foot pedal.
Fi
g
ure 2.2 - En
g
ine control s
y
stem for D-245.43S3А (D-245.5S3А)
https://tractormanualz.com/

Table of Contents

Related product manuals