EasyManua.ls Logo

Belling BDO9608BK - Electrical Connection Procedures

Belling BDO9608BK
38 pages
Print Icon
To Next Page IconTo Next Page
To Next Page IconTo Next Page
To Previous Page IconTo Previous Page
To Previous Page IconTo Previous Page
Loading...
8
INSTALLATION
Electrical connection
Danger of electrocution
Electrical voltage
Have the electrical connection
carried out by qualified technical
personnel.
The earth connection is obligatory
according to the methods foreseen
by the safety regulations of the
electrical system.
Turn off the general power supply.
General information
Check that the characteristics of the
electrical network are suitable for the
data shown on the plate.
The identification plate, with technical
data, serial number and marking is
visibly positioned on the appliance.
The plate must never be removed.
The appliance works with
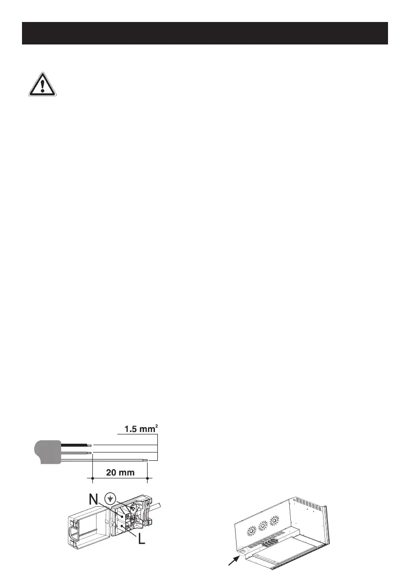
Use a three-pole cable (3x1.5mm
2
cable, referring to the internal
conductor section).
Provide for the earth connection with a
cable longer than the others by at least
20mm.
Fixed connection
If a stationary appliance is not fitted
with a supply cord and plug, or with
other means for disconnection from
the supply mains having a contact
separation in all poles that provide full
disconnection under overvoltage
category III conditions, a means for
disconnection must be incorporated in
the fixed wiring in accordance with the
wiring rules.
The interruption device must be located
in an easily accessible position and
near the appliance.
Connection with plug and socket
Check that the plug and socket are of
the same type.
Avoid using reductions, adapters or
shunts as they could cause heating or
burning.
For the installer
The plug must remain accessible after
installation. Do not bend or trap the
connection cable to the mains.
The appliance must be installed
according to the installation
diagrams.
If the appliance does not function
properly after having carried out all the
checks, refer to Glen Dimplex
customer care
When the appliance is correctly
installed, please instruct the user on
the correct method of operation.

Related product manuals