EasyManua.ls Logo

BENDIX ADF-T12B - Page 91

BENDIX ADF-T12B
143 pages
Print Icon
To Next Page IconTo Next Page
To Next Page IconTo Next Page
To Previous Page IconTo Previous Page
To Previous Page IconTo Previous Page
Loading...
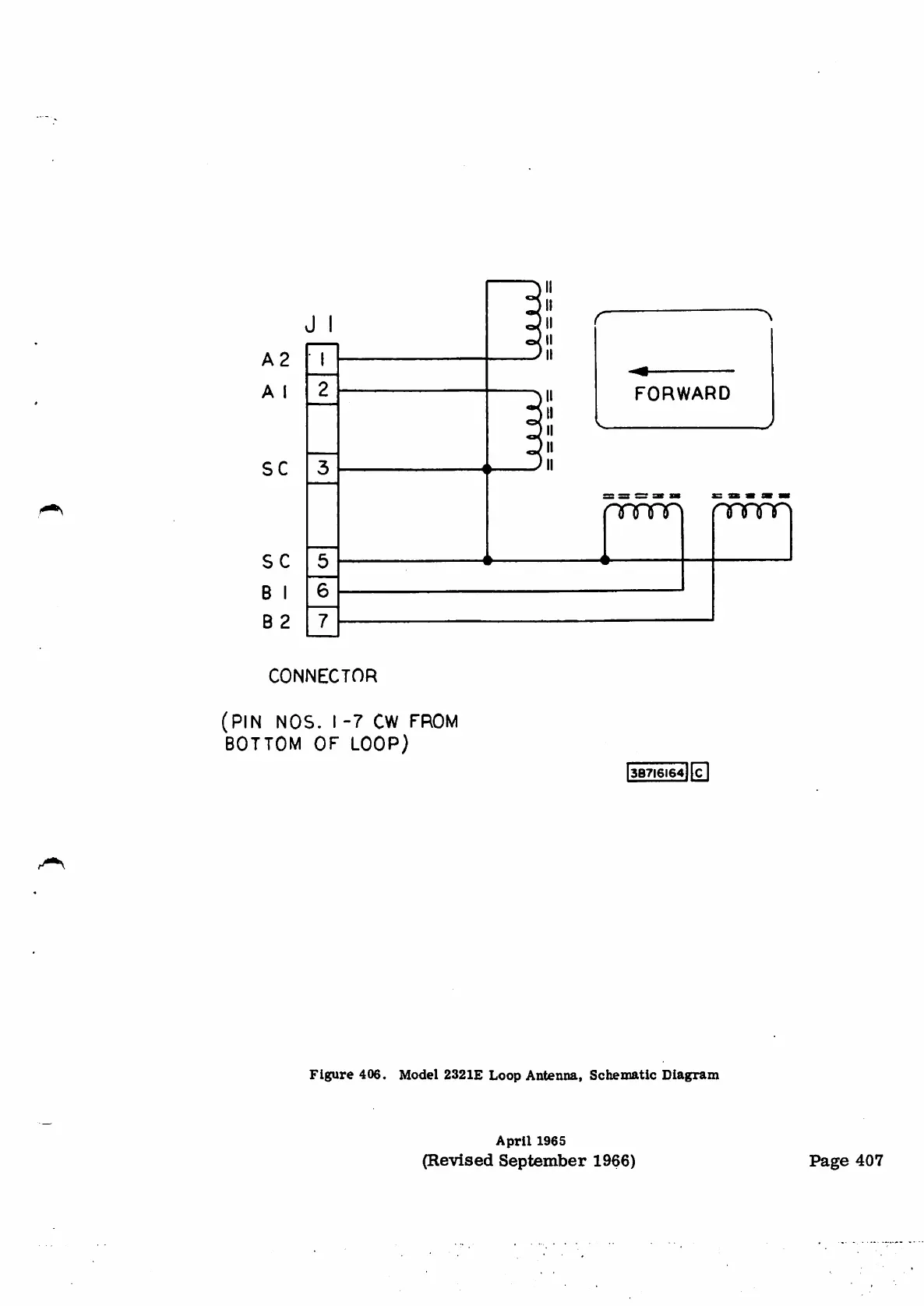
JI
II
A2
2
AI
FORWARD
3SC
n m m n n n n n
sc 5
6
BI
7B2
CONNECTOR
(PIN NOS. I-7 CW FROM
BOTTOM OF LOOP}
|3B7l6l64|[c
Figure 406. Model 2321E Loop Antenna, Schematic Diagram
April 1965
(Revised September 1966) Page 407

Table of Contents