EasyManua.ls Logo

BendPak HDS-14 - Page 24

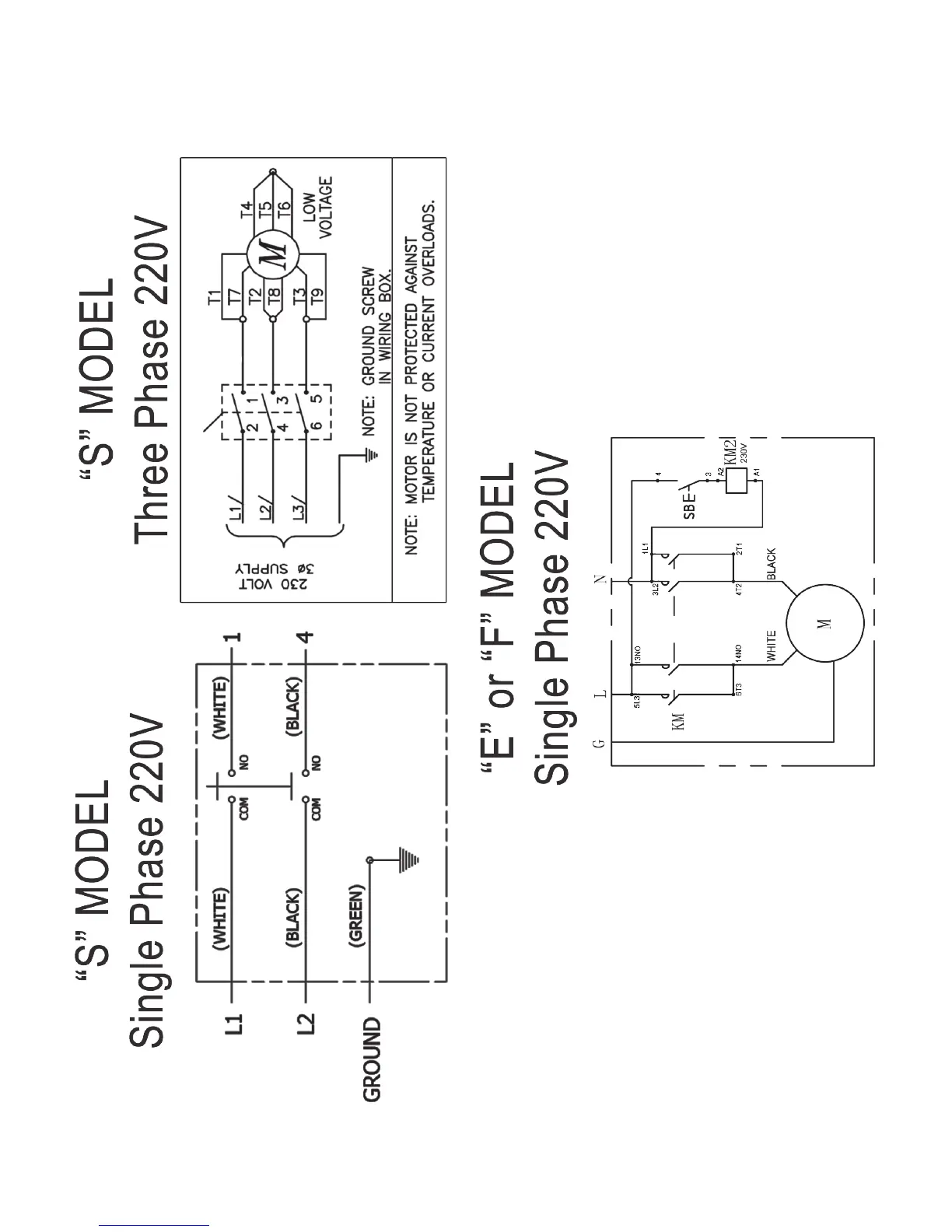
BendPak HDS-14
56 pages
Print Icon
To Next Page IconTo Next Page
To Next Page IconTo Next Page
To Previous Page IconTo Previous Page
To Previous Page IconTo Previous Page
Loading...
24

Other manuals for BendPak HDS-14

Related product manuals