EasyManua.ls Logo

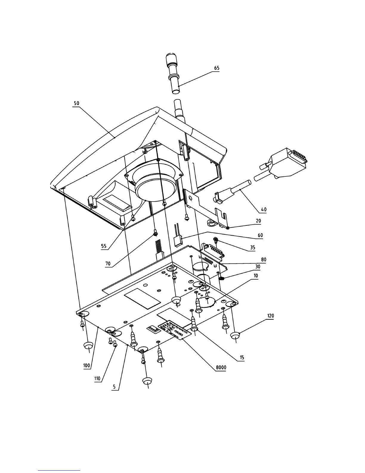
Beyerdynamic MCS 50 - MCS 511, 513, 521, 523 Microphone Units

Beyerdynamic MCS 50
Print Icon
To Next Page IconTo Next Page
To Next Page IconTo Next Page
To Previous Page IconTo Previous Page
To Previous Page IconTo Previous Page
Loading...
86
MCS 511, 513, 521, 523 Microphone Units

Other manuals for Beyerdynamic MCS 50

Related product manuals