EasyManua.ls Logo

BigDog MOWER CO - Deck Belt Adjustment

BigDog MOWER CO
45 pages
Print Icon
To Next Page IconTo Next Page
To Next Page IconTo Next Page
To Previous Page IconTo Previous Page
To Previous Page IconTo Previous Page
Loading...
REV A 6-4 121536
IMPORTANT: The blade sail (curved part) must be
pointing upward toward the inside of the deck to
ensure proper cutting.
7. Remove the blade lock.
8. Re-attach the negative battery cable.
Deck Belt
Inspect belts frequently for wear and serviceability.
Replace a belt that shows signs of severe cuts, tears, separa-
tion, weather checking and cracking, or burns caused by slip-
ping. Slight raveling of belt covering does not indicate failure;
trim ravelings with a sharp knife.
Inspect the belt pulley grooves and flanges for wear. A new
belt, or one in good condition, should never run against the
bottom of the groove. Replace the pulley when this is the
case, otherwise, the belt will lose power and slip excessively.
Never pry a belt to get it on a pulley as this will cut or dam-
age the fibers of the belt covering.
Keep oil and grease away from belts, and never use belt
dressings. Any of these will destroy the belt composition in a
very short time.
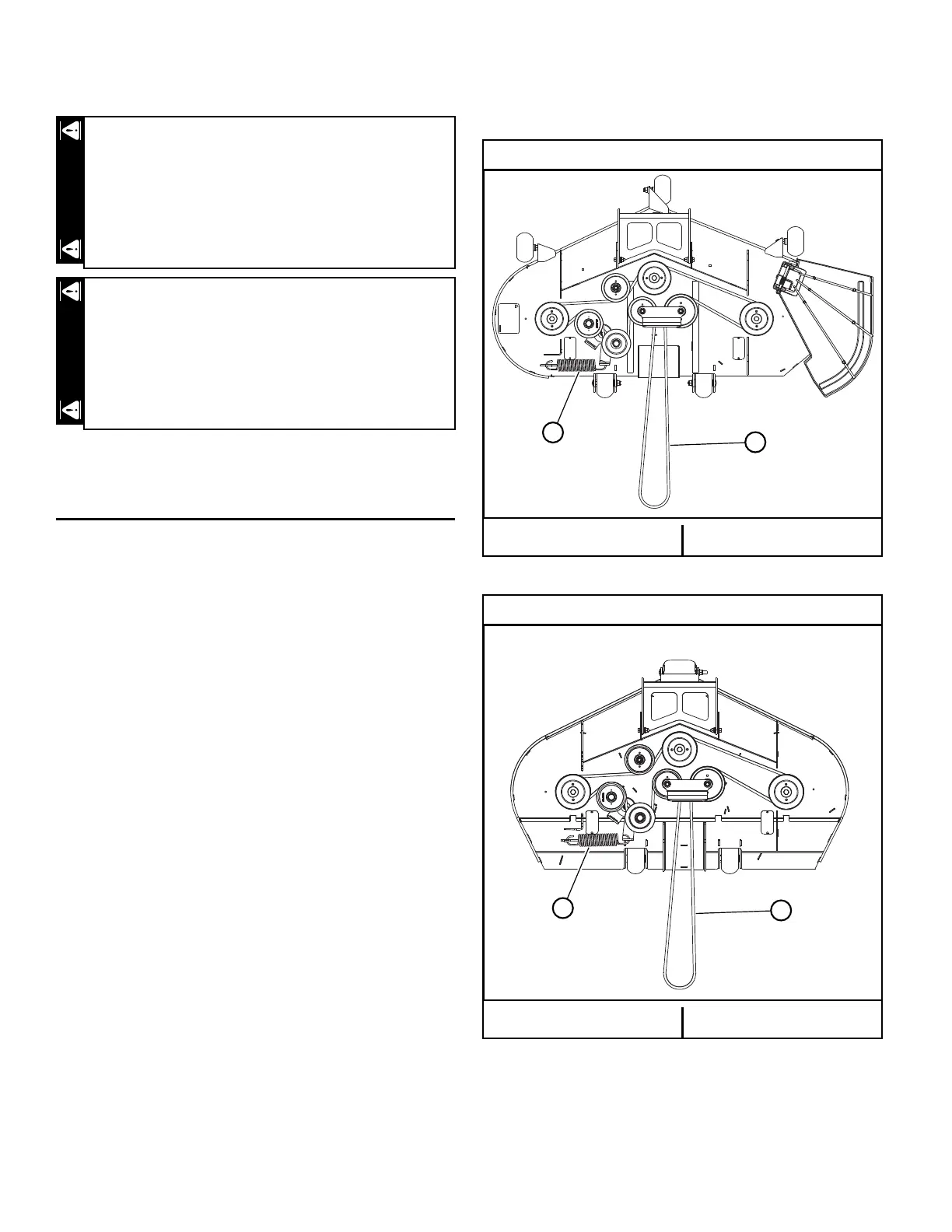
Deck belt adjustment
The spindle belt tension remains constant by means of a
tension idler and spring. There is no tension adjustment of
this belt. Figure 6-10 & Figure 6-11
Rotate the blades after installation to ensure blade
tips do not touch each other or sides of the mower.
Failure to correctly torque the bolt may result in the
loss of the blade which can cause serious injury.
WARNINGWARNING
Side discharge deck shown
A. Tension idler spring B. Deck drive belt
Figure 6-10
Rear discharge deck shown
A. Tension idler spring B. Deck drive belt
Figure 6-11
B
A
B
A

Related product manuals