EasyManua.ls Logo

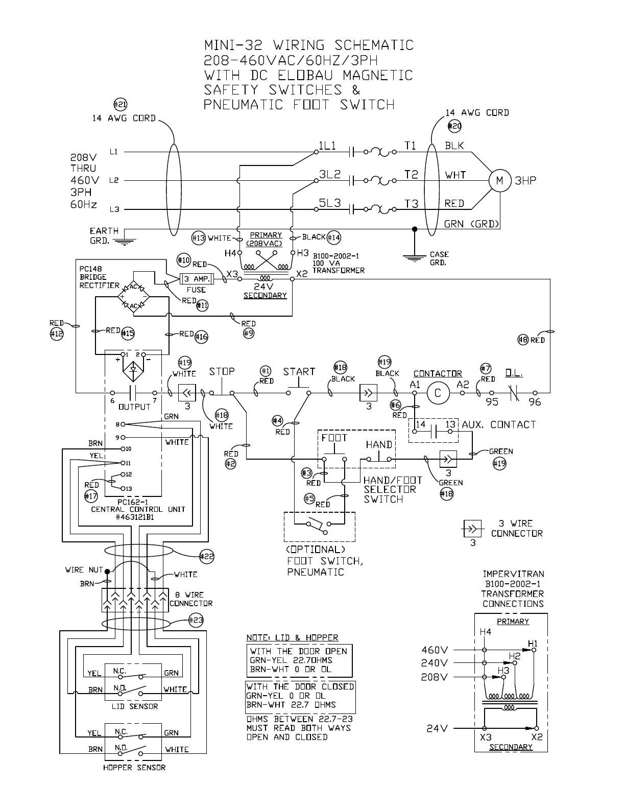
BIRO Mini-32 - Foot Switch Wiring and Adjustment; Foot Switch Adjustment Procedure; Foot Switch Parts Identification

BIRO Mini-32
32 pages
Print Icon
To Next Page IconTo Next Page
To Next Page IconTo Next Page
To Previous Page IconTo Previous Page
To Previous Page IconTo Previous Page
Loading...
23
Serial No.
2133 on

Related product manuals